Striker

Patents tagged Striker

Feb 10, 2026

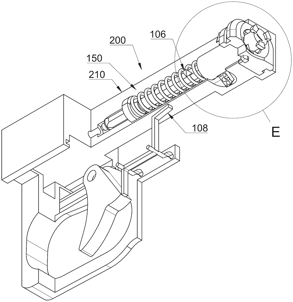
US12546549 - Firearm

A firearm comprises a frame; a barrel; a hand grip; a breechblock slidable along the frame; a striker slidable in the breechblock; a longitudinal elastic device for the recovery of the recoil kinetic energy for rearming the striker; and a closing block for locking the breechblock in the closing position, the closing block having a body which extends longitudinally and having a rear wall engaged with a downward protrusion integral with the barrel, a front wall engageable with the breechblock and a longitudinal recess which opens at the front wall, where the longitudinal elastic device for the recovery of kinetic energy has a longitudinal rear portion housed in the recess and a longitudinal front portion retractable towards the inside of the recess, and is longitudinally interposed between a front stop abutment solidly constrained to the breechblock and a rear stop abutment solidly constrained to the frame.

Aug 26, 2025

US12398966 - Backward compatible safety slide firing pin-striker system

A firearm system which allows firearm disassembly without trigger actuation. The system includes a slide having a divot or cavity disposed laterally off of the main channel. This divot allows for the pivoting of the striker sleeve such that the striker tang sear can move between a first position that is engaged with a corresponding trigger bar sear of a frame and a second position whereby the striker tang sear is disposed at least partially within the divot. This allows the striker tang sear to clear the trigger bar sear for disassembly without requiring a pull of the trigger.