Thermistors

Patents tagged Thermistors

Feb 10, 2026

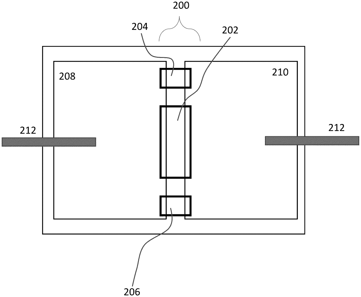
US12550615 - Semiconductor bridge coupled with one or more thermistors and the method of the same

A detonator for an explosive material is described. The detonator includes a semiconductor bridge, coupled with the explosive material, including thermal feedback mechanism is provided via one or more thermistors. An exemplary mechanism includes a semiconductor bridge with a polysilicon resistor and a pair of thermistors. The two thermistors are disposed to be substantially close to or sandwich the polysilicon resistor. When the temperature surrounding the polysilicon resistor is getting upwards, the temperature surrounding the thermistors is equally going up. When the temperature reaches a critical point, but below the threshold of the polysilicon resistor, the resistance of the thermistors drops suddenly or drastically, causing the current driving up the temperature of the polysilicon resistor to divert through the VOX temp resistors. Subsequently the current going through the polysilicon resistor is reduced, causing the temperature to drop downwards.