Trap

Patents tagged Trap

Feb 3, 2026

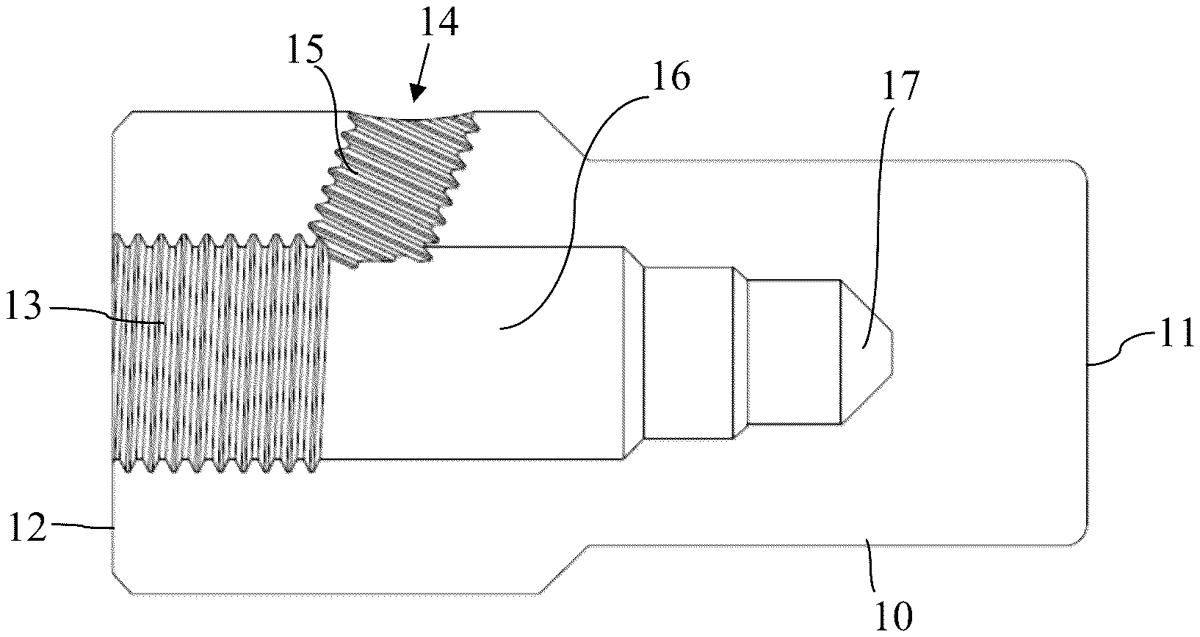
US12540787 - Method of blank firing

A method of firing a firearm includes providing a blank firing adapter plus bullet trap attached to the end of a barrel of the firearm, the blank firing adapter plus bullet trap including a bore aligned with a longitudinal axis of the barrel; providing a magazine that limits loading of up to two live rounds; and arranging for a blast from a cartridge in the firearm to eject a shell casing from the cartridge and automatically operate the firearm to insert a new cartridge from the magazine into a chamber of the firearm.