Tumble

Patents tagged Tumble

Jun 17, 2025

US12332035 - Customizable projectile designed to tumble

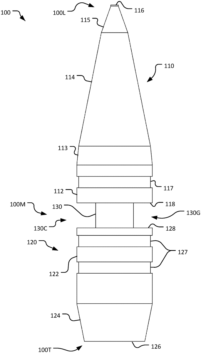
Projectiles and methods of making and using same are disclosed herein. A projectile comprises a first portion having a first cylindrical portion having a first flat end surface, a first section extending from the first cylindrical portion at a first acute angle, a second section extending from the first section at a second acute angle, and a tip section extending from the second section and terminating in a pointed tip. The projectile includes a second portion having a second cylindrical portion having a second flat end surface and a trailing portion having a generally frustoconical shape. The trailing portion tapers towards a trailing end of the projectile. A post couples the first cylindrical portion and the second cylindrical portion. The post is in contact with each of the first flat end surface and the second flat end surface.