Unjamming

Patents tagged Unjamming

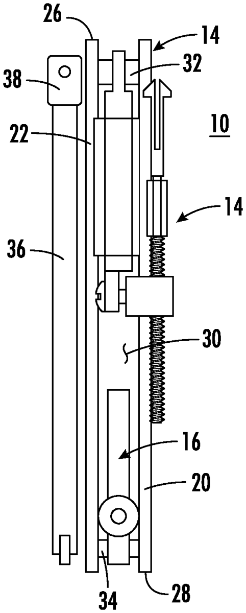
Jan 20, 2026

US12529537 - Unjamming multitool for firearms

An unjamming multitool for use with a firearm, including a housing having opposing parallel side plates joined at an edge and having a first end and an opposing second end, and defining a cavity therebetween. A first pivot post and a second pivot post are carried at the first and second ends of the housing. An extractor assembly is pivotally coupled to the first end of the housing by the first pivot post and movable between a stored position adjacent the housing and a deployed position wherein the extractor assembly is pivoted outwardly from the housing about the first pivot post to a stop. A bolt over-ride claw coupled to the opposing second end of the housing by the second pivot post, and movable between a stored position generally within the cavity of the housing and a deployed position pivoted outwardly from the cavity to a 90 degree stop. A collapsible range rod movable between a stored position against one of the opposing parallel side plates and a deployed position extending from the one of the opposing parallel side plates.