Zeroing

Patents tagged Zeroing

Sep 30, 2025

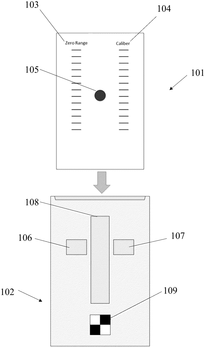
US12429307 - Zeroing target for a firearm sighting system

Provided is a zeroing target for a firearm sighting system that includes a range card insert and a range card sleeve. The range card insert includes zero range increment markings, caliber markings, and a point of aim indicator. The range card sleeve includes a zero range viewing window, a caliber viewing window, a point of aim viewing window, and a point of impact indicator. The range card insert fits within the range card sleeve and can be moved upwards or downwards within the sleeve for selecting a desired zero range increment marking and caliber marking. A laser boresight is aimed at the point of impact indicator and a sighting system on the weapon is adjusted until the sighting system is pointing at the point of aim indicator. When the two values align, the weapon is properly bore-sighted for the desired caliber and range, which can then be confirmed by live fire.

Aug 26, 2025

US12398977 - System and method for zeroing of smart aiming device

A smart aiming device includes an image sensor, a processor, and an adjustable reticle. A method of zeroing the smart aiming device includes: activating a dedicated zeroing mode: shooting at least one bullet on a zeroing target while aiming the firearm on the target using the reticle to determine an expected point of impact of the bullet on the zeroing target: imaging the zeroing target with the image sensor: identifying a location of at least one bullet hole formed by the bullet on the target, and calculating a distance between each bullet hole and the expected point of impact; and adjusting a location of the reticle respective to the bore of the firearm based on the calculated at least one distance, to thereby indicate a zeroed point of impact on the target on which a subsequent bullet shot from the firearm is expected to impact.