US12276072 - Tire spiker

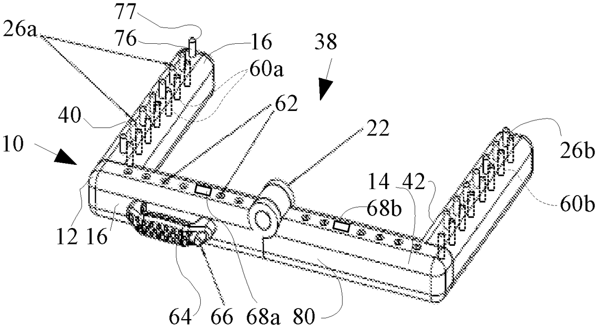
The tire spiker is a deployable device designed to surround a tire with spikes in a U-shaped configuration, featuring pivotally connected L-shaped arms that transition from a carry to a deployed state. Each arm contains spike chambers that hold spikes in a perpendicular orientation, allowing for effective tire immobilization when deployed.
Claim 1
- A tire spiker comprising: a frame comprising a first and second spacer portion, the first spacer portion comprising a first top side, a first hinge end and a first spike end, the second spacer portion comprising a second top side, a second hinge end and a second spike end, the first hinge end pivotally attached to the second hinge end whereby the first and second spacer portions are movable from a carry configuration to a deployed configuration; a first and second spike portion, the first spike portion comprising a first spike side, a first spacer end and a first distal end, the second spike portion comprising a second spike side, a second spacer end and a second distal end, the first spacer end attached to the first spike end, the second spike end attached to the second spacer end, a first spike chamber in the first spike portion, the first spike chamber opening on the first spike side, a second spike chamber in the second spike portion, the second spike chamber opening in the second spike side; and a first spike in the first spike portion and a second spike in the second spike portion, the first and second spikes each comprising a tip, the first spike disposed in a generally perpendicular orientation to and extending from the first spike side, the first spike tip spaced from the first spike side, the second spike disposed in a generally perpendicular orientation to and extending from the second spike side, the second spike tip spaced from the second spike side, the first spike disposed in the second spike chamber in the carry configuration, the second spike chamber adapted to receive the first spike, the second spike disposed in the first spike chamber, the second spike chamber adapted to receive the first spike. a frame comprising a first and second spacer portion, the first spacer portion comprising a first top side, a first hinge end and a first spike end, the second spacer portion comprising a second top side, a second hinge end and a second spike end, the first hinge end pivotally attached to the second hinge end whereby the first and second spacer portions are movable from a carry configuration to a deployed configuration; a first and second spike portion, the first spike portion comprising a first spike side, a first spacer end and a first distal end, the second spike portion comprising a second spike side, a second spacer end and a second distal end, the first spacer end attached to the first spike end, the second spike end attached to the second spacer end, a first spike chamber in the first spike portion, the first spike chamber opening on the first spike side, a second spike chamber in the second spike portion, the second spike chamber opening in the second spike side; and a first spike in the first spike portion and a second spike in the second spike portion, the first and second spikes each comprising a tip, the first spike disposed in a generally perpendicular orientation to and extending from the first spike side, the first spike tip spaced from the first spike side, the second spike disposed in a generally perpendicular orientation to and extending from the second spike side, the second spike tip spaced from the second spike side, the first spike disposed in the second spike chamber in the carry configuration, the second spike chamber adapted to receive the first spike, the second spike disposed in the first spike chamber, the second spike chamber adapted to receive the first spike.
Google Patents
https://patents.google.com/patent/US12276072
USPTO PDF
https://image-ppubs.uspto.gov/dirsearch-public/print/downloadPdf/12276072