US12276183 - Perforating-gun initiator circuit

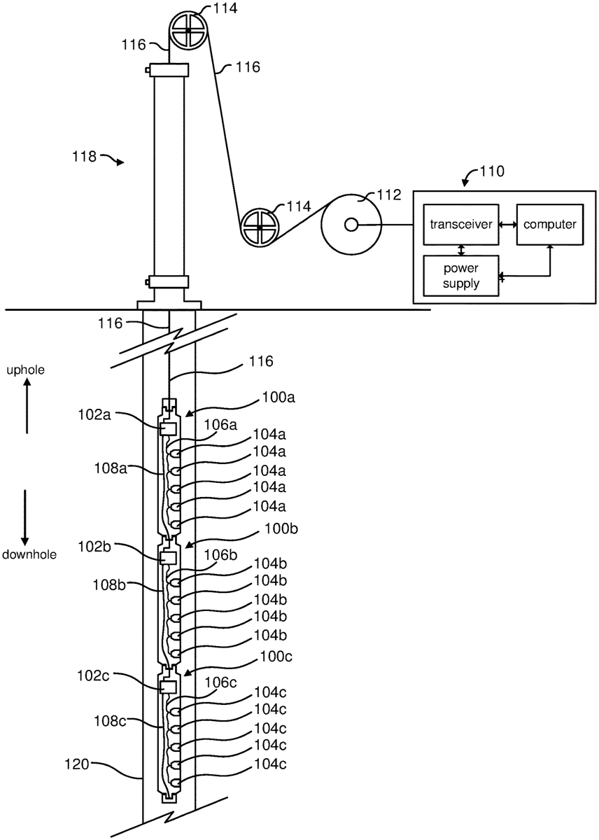
The patent describes an initiator circuit for a perforating gun that utilizes a microprocessor to monitor supply voltage stability and powered-up time before signaling readiness for operation. This system enhances operational reliability by ensuring the circuit only activates under stable conditions, thus improving safety and performance.
Claim 1
- An initiator circuit for a perforating gun, the initiator circuit comprising: (a) a feedthrough switch; and (b) a microprocessor configured to perform a following algorithm: (i) monitor a powered-up time indicating a time passed since the initiator circuit was powered up; (ii) monitor a supply-voltage supplied to the initiator circuit; (iii) determine a dispersion in the supply-voltage by determining the dispersion in the supply-voltage over a first predetermined period of time; (iv) determine whether the dispersion in the supply-voltage satisfies a predetermined stability condition; (v) determine whether the powered-up time satisfies a predetermined powered-up-time condition; and (vi) send an outgoing message if either the dispersion in the supply-voltage satisfies the predetermined stability condition or the powered-up time satisfies the predetermined powered-up-time condition. (a) a feedthrough switch; and (b) a microprocessor configured to perform a following algorithm: (i) monitor a powered-up time indicating a time passed since the initiator circuit was powered up; (ii) monitor a supply-voltage supplied to the initiator circuit; (iii) determine a dispersion in the supply-voltage by determining the dispersion in the supply-voltage over a first predetermined period of time; (iv) determine whether the dispersion in the supply-voltage satisfies a predetermined stability condition; (v) determine whether the powered-up time satisfies a predetermined powered-up-time condition; and (vi) send an outgoing message if either the dispersion in the supply-voltage satisfies the predetermined stability condition or the powered-up time satisfies the predetermined powered-up-time condition.
Google Patents
https://patents.google.com/patent/US12276183
USPTO PDF
https://image-ppubs.uspto.gov/dirsearch-public/print/downloadPdf/12276183