US12276467 - Sound, flash, and heat dissipating firearm suppressor

firearmsuppressorammunition
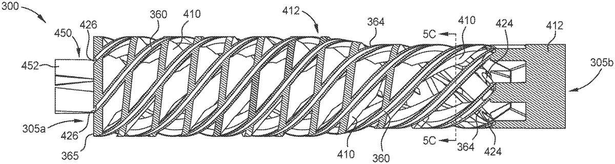
The patent describes a firearm suppressor designed to reduce sound, flash, and heat generated during firing, featuring a unitary structure with a cone-shaped nozzle and multiple cooling channels. These channels, along with a series of baffles and walls, enhance the suppressor’s efficiency by managing the internal airflow and thermal dissipation.
Claim 1
- A suppressor, comprising: a unitary structure comprising: a body having an interior volume and a cone shaped nozzle disposed at one end of the body, wherein the body has a breech end opposite a faceplate and comprises a plurality of cooling channels spanning a length of the body, wherein the plurality of cooling channels terminates at the faceplate of the body, and each of the cooling channels has a first opening at the breech end and a second opening at the faceplate, and wherein the unitary structure further comprises: an outer ring spanning from the breech end to at least the faceplate; a longitudinal wall spanning from the breech end to the faceplate, wherein the longitudinal wall is disposed radially inward of the outer ring; and a plurality of radially oriented walls extending between the longitudinal wall and the outer ring, wherein the plurality of cooling channels is disposed between the longitudinal wall, the outer ring, and the radially oriented walls, a central bore extending from the breech end of the body to the faceplate; and a plurality of baffles surrounding the central bore; wherein the unitary structure further comprises a plurality of internal channels disposed radially inward of the cooling channels; and wherein each of the internal channels has a first opening in the interior volume and a second opening in the faceplate. a unitary structure comprising: a body having an interior volume and a cone shaped nozzle disposed at one end of the body, wherein the body has a breech end opposite a faceplate and comprises a plurality of cooling channels spanning a length of the body, wherein the plurality of cooling channels terminates at the faceplate of the body, and each of the cooling channels has a first opening at the breech end and a second opening at the faceplate, and wherein the unitary structure further comprises: an outer ring spanning from the breech end to at least the faceplate; a longitudinal wall spanning from the breech end to the faceplate, wherein the longitudinal wall is disposed radially inward of the outer ring; and a plurality of radially oriented walls extending between the longitudinal wall and the outer ring, wherein the plurality of cooling channels is disposed between the longitudinal wall, the outer ring, and the radially oriented walls, a central bore extending from the breech end of the body to the faceplate; and a plurality of baffles surrounding the central bore; wherein the unitary structure further comprises a plurality of internal channels disposed radially inward of the cooling channels; and wherein each of the internal channels has a first opening in the interior volume and a second opening in the faceplate.
Google Patents
https://patents.google.com/patent/US12276467
USPTO PDF
https://image-ppubs.uspto.gov/dirsearch-public/print/downloadPdf/12276467