US12276371 - Gun-mounted telescoping support stand apparatus

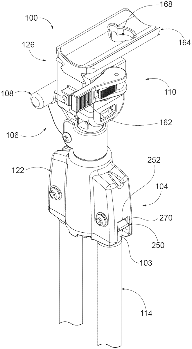
The patent describes a gun-mounted telescoping support stand that features extendable legs with a locking mechanism and a release assembly for adjusting the legs’ length. The design includes a connection assembly that interfaces with a trigger assembly, allowing for the controlled extension and retraction of the legs to stabilize the firearm.
Claim 1
- A telescoping support stand, comprising: a plurality of extendable legs, each comprising a locking mechanism; a release assembly configured to release the locking mechanism and allow the extendable legs to extend; a connection assembly comprising a connection housing mounted to a first end of the release assembly comprising a connection assembly tube coupled to the connection housing at a first end of the connection assembly tube, wherein the connection assembly tube is configured to couple the connection assembly to a trigger assembly; a trigger assembly comprising a trigger pivotally mounted to the connection assembly and movable relative to the release assembly to actuate the release assembly to release the locking mechanism; wherein the connection assembly tube comprises a connection assembly bore extending axially through the connection assembly tube and a displacement rod disposed within the connection assembly bore, wherein the displacement rod is configured for biased movement relative to connection assembly bore, wherein the displacement rod has a first end configured to engage with the trigger, wherein a displacement member is coupled to a second end of the displacement rod and is configured to have a plurality of curved ramp surfaces; and wherein the extendable legs further comprise joint members disposed on ends thereof, wherein the joint members are positioned at least partially within the connection assembly housing, wherein a plurality of curved actuation members each having a rollable wheel at a first end configured to rollably traverse one of the plurality of curved ramp surfaces, either towards or away from a vertical axis of the support stand apparatus that passes through connection assembly bore as the extendable legs hingeably extend or retract towards or away from the vertical axis, thereby widening or narrowing the stance of the support stand apparatus. a plurality of extendable legs, each comprising a locking mechanism; a release assembly configured to release the locking mechanism and allow the extendable legs to extend; a connection assembly comprising a connection housing mounted to a first end of the release assembly comprising a connection assembly tube coupled to the connection housing at a first end of the connection assembly tube, wherein the connection assembly tube is configured to couple the connection assembly to a trigger assembly; a trigger assembly comprising a trigger pivotally mounted to the connection assembly and movable relative to the release assembly to actuate the release assembly to release the locking mechanism; wherein the connection assembly tube comprises a connection assembly bore extending axially through the connection assembly tube and a displacement rod disposed within the connection assembly bore, wherein the displacement rod is configured for biased movement relative to connection assembly bore, wherein the displacement rod has a first end configured to engage with the trigger, wherein a displacement member is coupled to a second end of the displacement rod and is configured to have a plurality of curved ramp surfaces; and wherein the extendable legs further comprise joint members disposed on ends thereof, wherein the joint members are positioned at least partially within the connection assembly housing, wherein a plurality of curved actuation members each having a rollable wheel at a first end configured to rollably traverse one of the plurality of curved ramp surfaces, either towards or away from a vertical axis of the support stand apparatus that passes through connection assembly bore as the extendable legs hingeably extend or retract towards or away from the vertical axis, thereby widening or narrowing the stance of the support stand apparatus.
Google Patents
https://patents.google.com/patent/US12276371
USPTO PDF
https://image-ppubs.uspto.gov/dirsearch-public/print/downloadPdf/12276371