US12276479 - Macro alignment reticle sight system

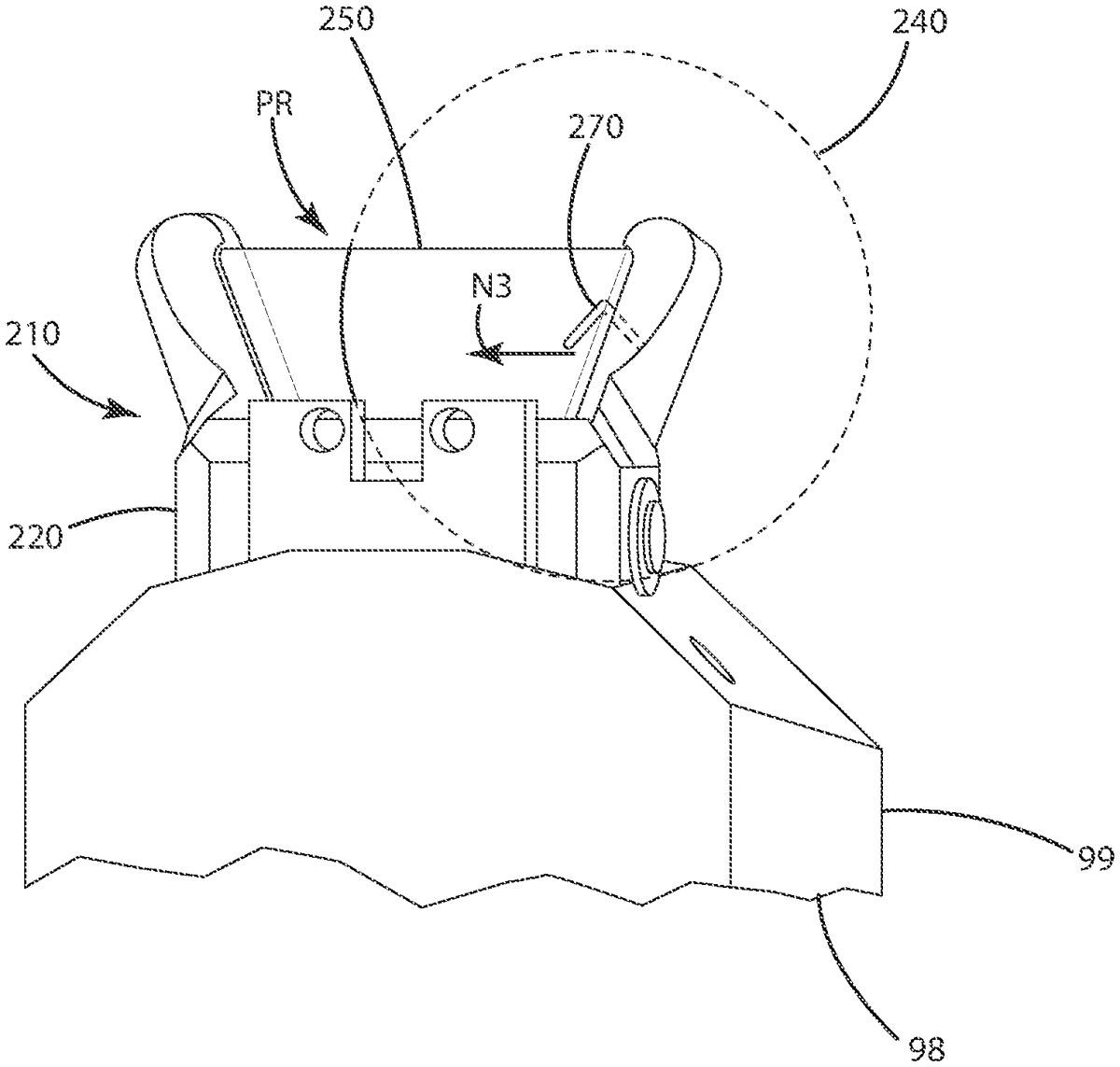
The patent describes a sighting device that utilizes a single light source to project a primary aiming dot and a secondary alignment dot, with the latter being visible only when the sight is misaligned. This design aids users in realigning the sight to ensure accurate targeting by making the primary dot visible during proper alignment while hiding the secondary dot.
Claim 1
- A sight comprising: an optical element; and a single light source that projects a primary dot and a secondary alignment dot on the optical element, wherein the primary dot is displayed to a user within a field of view of the user, but the secondary alignment dot is not displayed within the field of view of the user, when the sight is in an aligned mode and the user aims at a target with the sight, the primary dot being an aiming dot in the form of a single chevron that is aligned with the target in the aligned mode to engage the target with a weapon to which the sight is mounted, wherein the secondary alignment dot is displayed within the field of view of the user, when the sight is in a misaligned mode, to provide instruction to the user to realign the sight relative to the field of view of the user so that the user can align the primary dot with the target, wherein the secondary alignment dot is normally hidden from the user, is unperceivable to the user, and is not displayed within the field of view of the user, when the aiming dot in the form of the single chevron is aligned with the target in the aligned mode to engage the target with the weapon while the user aims at the target with the sight, wherein the secondary alignment dot is distal from the aiming dot so that a user is prevented from simultaneously viewing any of the secondary alignment dot, nor any other secondary alignment dot, along with the aiming dot when the aiming dot is aligned with the target in the aligned mode to engage the target with the weapon, wherein only the single chevron, and nothing else, is displayed on the optical element for the user to view, when the single chevron is aligned with the target in the aligned mode to engage the target with the weapon while the user aims at the target with the sight, wherein the primary dot and the secondary alignment dot remain simultaneously projected by the single light source in the aligned mode, wherein the primary dot and the secondary alignment dot remain simultaneously projected by the single light source in the misaligned mode. an optical element; and a single light source that projects a primary dot and a secondary alignment dot on the optical element, wherein the primary dot is displayed to a user within a field of view of the user, but the secondary alignment dot is not displayed within the field of view of the user, when the sight is in an aligned mode and the user aims at a target with the sight, the primary dot being an aiming dot in the form of a single chevron that is aligned with the target in the aligned mode to engage the target with a weapon to which the sight is mounted, wherein the secondary alignment dot is displayed within the field of view of the user, when the sight is in a misaligned mode, to provide instruction to the user to realign the sight relative to the field of view of the user so that the user can align the primary dot with the target, wherein the secondary alignment dot is normally hidden from the user, is unperceivable to the user, and is not displayed within the field of view of the user, when the aiming dot in the form of the single chevron is aligned with the target in the aligned mode to engage the target with the weapon while the user aims at the target with the sight, wherein the secondary alignment dot is distal from the aiming dot so that a user is prevented from simultaneously viewing any of the secondary alignment dot, nor any other secondary alignment dot, along with the aiming dot when the aiming dot is aligned with the target in the aligned mode to engage the target with the weapon, wherein only the single chevron, and nothing else, is displayed on the optical element for the user to view, when the single chevron is aligned with the target in the aligned mode to engage the target with the weapon while the user aims at the target with the sight, wherein the primary dot and the secondary alignment dot remain simultaneously projected by the single light source in the aligned mode, wherein the primary dot and the secondary alignment dot remain simultaneously projected by the single light source in the misaligned mode.
Google Patents
https://patents.google.com/patent/US12276479
USPTO PDF
https://image-ppubs.uspto.gov/dirsearch-public/print/downloadPdf/12276479