US12276480 - Optical sight mounting system

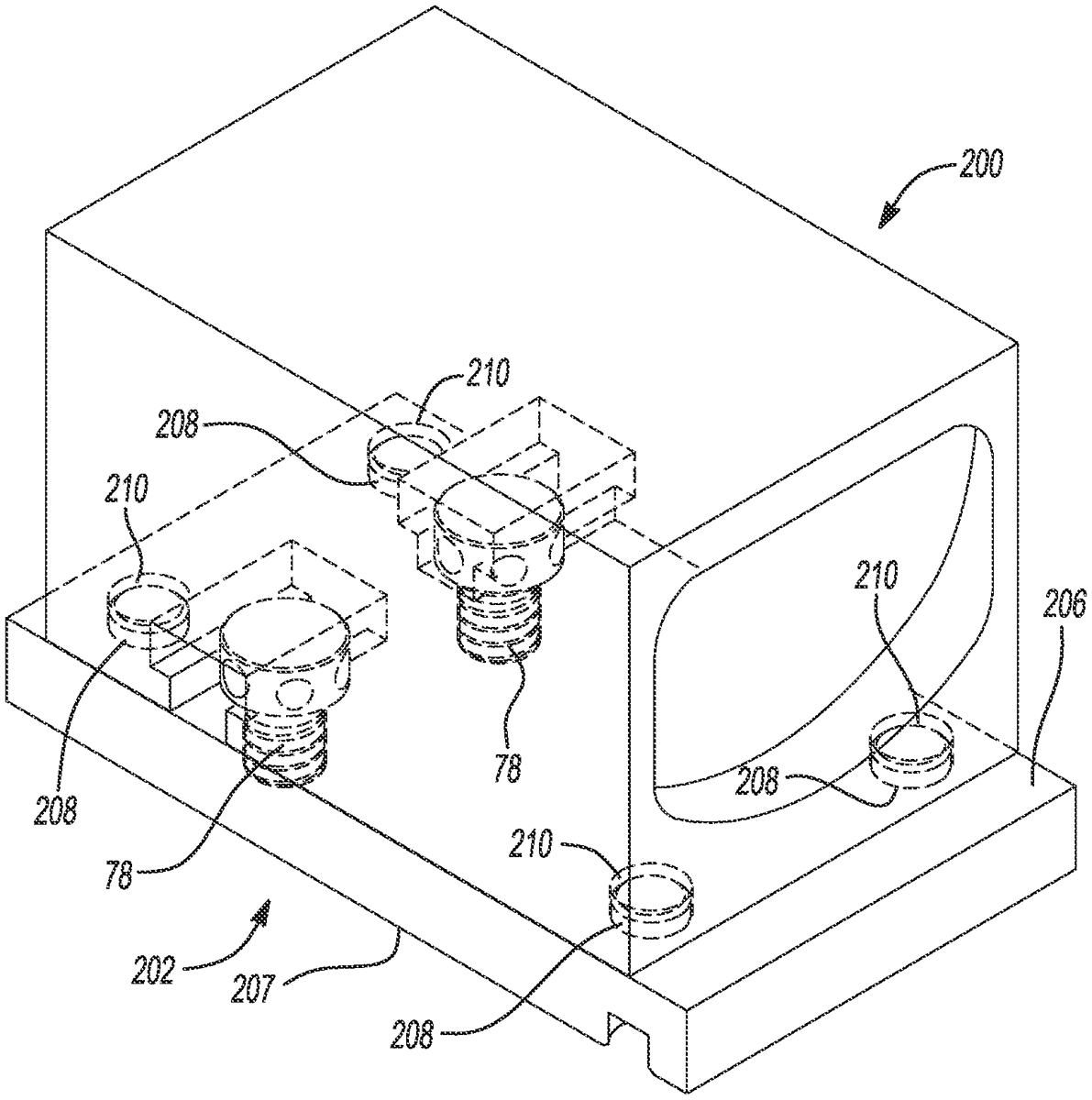
The patent describes an optical sight with a housing that features a first cavity designed to securely accommodate a threaded fastener, which is accessible from two sides but inaccessible from the top and bottom. The optical element is positioned within a second opening that extends along the housing’s longitudinal axis, enhancing the sight’s functionality and stability.
Claim 1
- An optical sight comprising: a housing, the housing including: a first cavity having a first surface, the first cavity accessible from a first opening on a first side of the housing and a second side of the housing, the first opening extending continuously between the first side and the second side, the first surface including a portion opposite the second side of the housing such that the first cavity is inaccessible from a third side of the housing opposite the second side of the housing, the first surface including another portion opposite the first side of the housing such that the first cavity is inaccessible from a fourth side of the housing opposite the first side of the housing, the first cavity accommodating a first threaded fastener therein such that a head of the first threaded fastener is supported by the first surface and such that a threaded shaft of the first threaded fastener extends through the second side of the housing; and a second opening extending along a longitudinal axis of the housing; and an optical element supported by the housing and disposed within the second opening of the housing. a housing, the housing including: a first cavity having a first surface, the first cavity accessible from a first opening on a first side of the housing and a second side of the housing, the first opening extending continuously between the first side and the second side, the first surface including a portion opposite the second side of the housing such that the first cavity is inaccessible from a third side of the housing opposite the second side of the housing, the first surface including another portion opposite the first side of the housing such that the first cavity is inaccessible from a fourth side of the housing opposite the first side of the housing, the first cavity accommodating a first threaded fastener therein such that a head of the first threaded fastener is supported by the first surface and such that a threaded shaft of the first threaded fastener extends through the second side of the housing; and a second opening extending along a longitudinal axis of the housing; and a first cavity having a first surface, the first cavity accessible from a first opening on a first side of the housing and a second side of the housing, the first opening extending continuously between the first side and the second side, the first surface including a portion opposite the second side of the housing such that the first cavity is inaccessible from a third side of the housing opposite the second side of the housing, the first surface including another portion opposite the first side of the housing such that the first cavity is inaccessible from a fourth side of the housing opposite the first side of the housing, the first cavity accommodating a first threaded fastener therein such that a head of the first threaded fastener is supported by the first surface and such that a threaded shaft of the first threaded fastener extends through the second side of the housing; and a second opening extending along a longitudinal axis of the housing; and an optical element supported by the housing and disposed within the second opening of the housing.
Google Patents
https://patents.google.com/patent/US12276480
USPTO PDF
https://image-ppubs.uspto.gov/dirsearch-public/print/downloadPdf/12276480