US12287179 - Spike resistant package and article

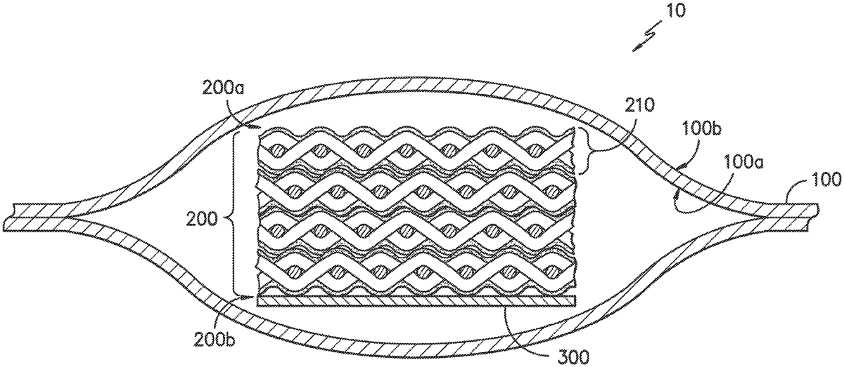
The patent describes a spike-resistant package featuring a pouch that contains multiple layers of spike-resistant textiles and a slip layer designed to enhance protection. The slip layer incorporates a woven or knit fabric with specific characteristics, including small holes and a thickness greater than 0.5 mm, to effectively prevent penetration by spikes.
Claim 1
- A spike resistant package comprising: a pouch, wherein the pouch having an inner surface, an outer surface, and an enclosed space; a first grouping of spike resistant textile layers, wherein the grouping has a first side, a second side, and comprises plurality of spike resistant textile layers, wherein each spike resistant textile layer comprises a plurality of interwoven yarns or fibers having a tenacity of about 14 or more grams per denier, wherein the first grouping of spike resistant textile layers is located within the enclosed space of the pouch; and, a slip layer being a woven or knit fabric having a first and second side and comprising a main portion having an upper and lower side and a first pile portion on the upper surface of the main portion, wherein the slip layer comprises a plurality of yarns knitted or woven together and a plurality of holes between the yarns, wherein the plurality of yarns comprise a plurality of fibers, wherein the slip layer is located within the enclosed space of the pouch between the first grouping of spike resistant textiles layers and the inner surface of the pouch; wherein the holes have an average max hole size of less than about 2 mm, wherein a portion of the yarns and fibers of the slip layer reside in the main portion of the slip layer and a portion of the yarns and fibers of the slip layer are in the pile portion of the slip layer, wherein the yarns and fibers in the pile portion are in loops or strands extending outward from the main portion of the slip layer, and wherein the slip layer has a thickness greater than about 0.5 mm. a pouch, wherein the pouch having an inner surface, an outer surface, and an enclosed space; a first grouping of spike resistant textile layers, wherein the grouping has a first side, a second side, and comprises plurality of spike resistant textile layers, wherein each spike resistant textile layer comprises a plurality of interwoven yarns or fibers having a tenacity of about 14 or more grams per denier, wherein the first grouping of spike resistant textile layers is located within the enclosed space of the pouch; and, a slip layer being a woven or knit fabric having a first and second side and comprising a main portion having an upper and lower side and a first pile portion on the upper surface of the main portion, wherein the slip layer comprises a plurality of yarns knitted or woven together and a plurality of holes between the yarns, wherein the plurality of yarns comprise a plurality of fibers, wherein the slip layer is located within the enclosed space of the pouch between the first grouping of spike resistant textiles layers and the inner surface of the pouch; wherein the holes have an average max hole size of less than about 2 mm, wherein a portion of the yarns and fibers of the slip layer reside in the main portion of the slip layer and a portion of the yarns and fibers of the slip layer are in the pile portion of the slip layer, wherein the yarns and fibers in the pile portion are in loops or strands extending outward from the main portion of the slip layer, and wherein the slip layer has a thickness greater than about 0.5 mm.
Google Patents
https://patents.google.com/patent/US12287179
USPTO PDF
https://image-ppubs.uspto.gov/dirsearch-public/print/downloadPdf/12287179