US12287180 - Utilizing a seat assembly having a set of limit straps to limit deflection

This patent describes a vehicle seat assembly designed to minimize deflection during collisions or blasts by utilizing limit straps that connect the slip joint of the seat support to the vehicle floor. The assembly includes a seat support from the ceiling and a base that forms a slip joint with the floor, ensuring stability under stress.
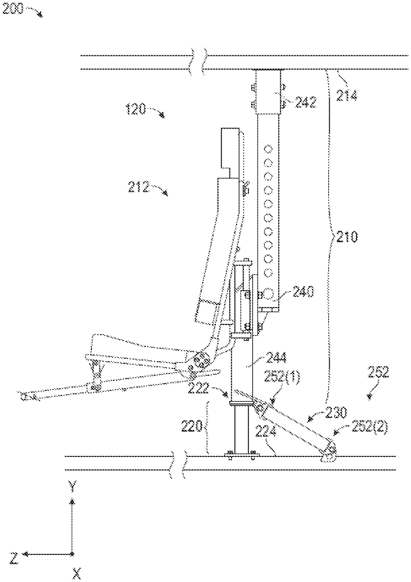
Claim 1
- A vehicle, comprising: a vehicle ceiling; a vehicle floor; and a vehicle seat assembly that couples with the vehicle ceiling and the vehicle floor, the vehicle seat assembly including: a seat support that supports a vehicle seat weight from the vehicle ceiling, a base that forms a slip joint with the seat support from the vehicle floor, and a set of limit straps constructed and arranged to limit deflection of the slip joint in response to deformation between the vehicle ceiling and the vehicle floor, each limit strap of the set of limit straps having a first end that attaches to a portion of the slip joint and a second end that attaches to the vehicle floor. a vehicle ceiling; a vehicle floor; and a vehicle seat assembly that couples with the vehicle ceiling and the vehicle floor, the vehicle seat assembly including: a seat support that supports a vehicle seat weight from the vehicle ceiling, a base that forms a slip joint with the seat support from the vehicle floor, and a set of limit straps constructed and arranged to limit deflection of the slip joint in response to deformation between the vehicle ceiling and the vehicle floor, each limit strap of the set of limit straps having a first end that attaches to a portion of the slip joint and a second end that attaches to the vehicle floor. a seat support that supports a vehicle seat weight from the vehicle ceiling, a base that forms a slip joint with the seat support from the vehicle floor, and a set of limit straps constructed and arranged to limit deflection of the slip joint in response to deformation between the vehicle ceiling and the vehicle floor, each limit strap of the set of limit straps having a first end that attaches to a portion of the slip joint and a second end that attaches to the vehicle floor.
Google Patents
https://patents.google.com/patent/US12287180
USPTO PDF
https://image-ppubs.uspto.gov/dirsearch-public/print/downloadPdf/12287180