US12287182 - Initiator head with circuit board

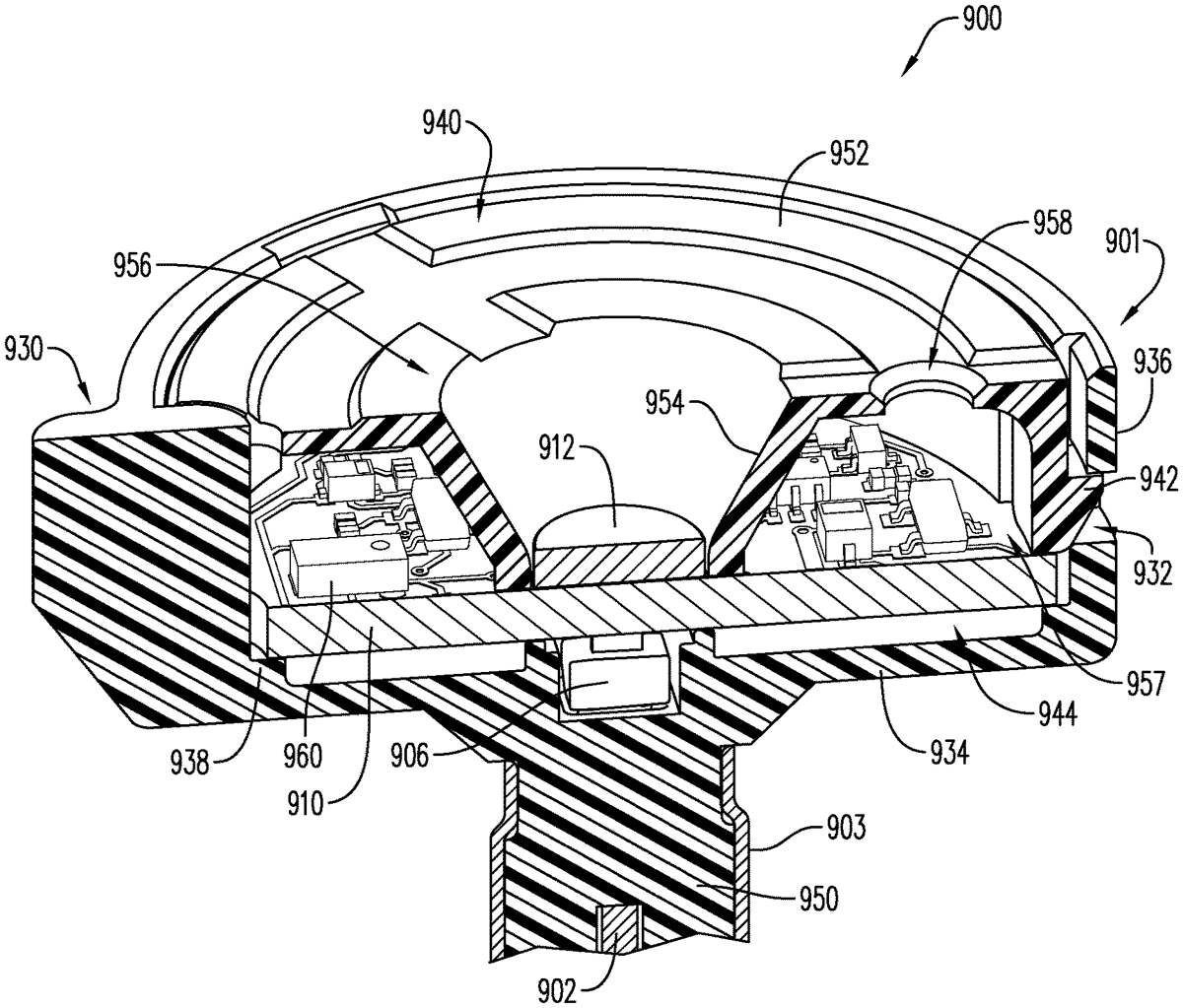
The patent describes an initiator head designed for firearms, featuring a circuit board housed within an insulated chamber to protect its electronics from shocks and vibrations. The manufacturing method involves injection molding a two-piece housing and filling the interior with insulating material to ensure electrical insulation and durability.
Claim 1
- A method of manufacturing an initiator head, the method comprising: injection molding a first housing piece that defines an interior chamber, a circuit board being positioned within the interior chamber; coupling a second housing piece to the first housing piece to cover the interior chamber; and filling the interior chamber with an insulating material thereby covering electronics of the circuit board with the insulating material; wherein the second housing piece is coupled to the first housing piece before the interior chamber is filled with the insulating material; and filling the interior chamber comprises injecting the insulating material into the interior chamber via a hole defined through the second housing piece. injection molding a first housing piece that defines an interior chamber, a circuit board being positioned within the interior chamber; coupling a second housing piece to the first housing piece to cover the interior chamber; and filling the interior chamber with an insulating material thereby covering electronics of the circuit board with the insulating material; wherein the second housing piece is coupled to the first housing piece before the interior chamber is filled with the insulating material; and filling the interior chamber comprises injecting the insulating material into the interior chamber via a hole defined through the second housing piece.
Google Patents
https://patents.google.com/patent/US12287182
USPTO PDF
https://image-ppubs.uspto.gov/dirsearch-public/print/downloadPdf/12287182