US12287183 - Explosive booster

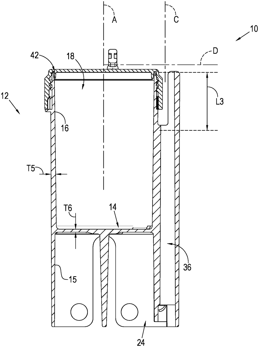
The patent describes an explosive booster designed to initiate the detonation of bulk explosives, featuring a hollow body with a base and sidewall that contains a detonable booster formulation. It includes an initiator channel for positioning an explosive initiator in close proximity to the booster formulation, and a removable closure member that ensures a liquid-tight seal when attached to the body.
Claim 1
- An explosive booster for initiating, and thus causing detonation of, a bulk explosive, the booster including a hollow body comprising a base member and a sidewall projecting from the base member, the body defining an interior space between the base member and the sidewall for containing a detonable booster formulation in use; a hollow elongate initiator locating formation that projects longitudinally into the interior space at least from the base member and that defines an initiator channel that is open through the base member, for locating an explosive initiator therein and thus in initiating proximity relative to a detonable booster formulation that is contained in the interior space in use, a hollow body comprising a base member and a sidewall projecting from the base member, the body defining an interior space between the base member and the sidewall for containing a detonable booster formulation in use; a hollow elongate initiator locating formation that projects longitudinally into the interior space at least from the base member and that defines an initiator channel that is open through the base member, for locating an explosive initiator therein and thus in initiating proximity relative to a detonable booster formulation that is contained in the interior space in use, wherein the initiator channel extends longitudinally along a central longitudinal axis thereof that is radially spaced from and parallel to a central longitudinal axis along which the interior space longitudinally extends, wherein the body defines a mouth at which the interior space terminates and through which a detonable booster formulation may be loaded into the interior space in use, the mouth thus providing a distal end of the interior space, the booster further including a removable closure member that is of a material different to the material of the body and is configured such that the closure member is mountable to the body to close the mouth, and wherein the closure member and the body have complementary thread formations that are threadable to screw the closure member onto the body, thus mounting the closure member on the body and closing the mouth, the complementary thread formations being configured for effecting liquid tight mounting of the closure member to the body by threading engagement of the complementary thread formations through two revolutions of the closure member about a screw axis that co-extends with the central longitudinal axis of the interior space; and the closure member comprises a channel formation within which a part of the body that defines the mouth is seated when the closure member is screwed onto the body. wherein the body defines a mouth at which the interior space terminates and through which a detonable booster formulation may be loaded into the interior space in use, the mouth thus providing a distal end of the interior space, the booster further including a removable closure member that is of a material different to the material of the body and is configured such that the closure member is mountable to the body to close the mouth, and wherein the closure member and the body have complementary thread formations that are threadable to screw the closure member onto the body, thus mounting the closure member on the body and closing the mouth, the complementary thread formations being configured for effecting liquid tight mounting of the closure member to the body by threading engagement of the complementary thread formations through two revolutions of the closure member about a screw axis that co-extends with the central longitudinal axis of the interior space; and the closure member comprises a channel formation within which a part of the body that defines the mouth is seated when the closure member is screwed onto the body.
Google Patents
https://patents.google.com/patent/US12287183
USPTO PDF
https://image-ppubs.uspto.gov/dirsearch-public/print/downloadPdf/12287183