US12287186 - Safe-and-arm device

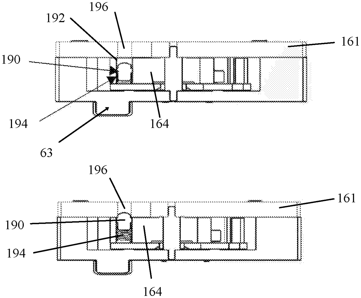
The patent describes a safe-and-arm device for projectiles featuring a two-stage propulsion system, where the second-stage propellant ignites after the projectile is launched, allowing for a controlled transition from a “safe” to an “armed” state. The mechanism utilizes an unbalanced rotor and a lockpin that responds to acceleration and spin forces, ensuring the projectile is at a safe distance before becoming armed.
Claim 1
- A safe-and-arm device or mechanism for a projectile equipped with 2-stage propulsion comprising: an unbalanced rotor that is configured to rotate inside the safe-and-arm device or mechanism, with a rate of rotation of the unbalanced rotor being controlled by a pinion and verge assembly; and a lockpin located on the unbalanced rotor, with the lockpin being disposed in a bore formed parallel to a longitudinal axis of the projectile, and the lockpin is urged by a spring to extend, so that a tip of the lockpin is engaged in a locating hole formed on a cover plate that is disposed over the safe-and-arm device or mechanism; wherein, after the projectile is propelled out of a launcher barrel and the projectile is a safe distance away from the launcher barrel, a second propellant is ignited, and the projectile experiences a second acceleration force or impulse together with spin forces, the lockpin, in response to both the second acceleration and spin forces, retracts and releases the unbalanced rotor to turn, such that after a predetermined elapsed of time, the safe-and-arm device or mechanism is rotated from a “safe” state to an “armed” state, as the projectile continues on its trajectory to a target. an unbalanced rotor that is configured to rotate inside the safe-and-arm device or mechanism, with a rate of rotation of the unbalanced rotor being controlled by a pinion and verge assembly; and a lockpin located on the unbalanced rotor, with the lockpin being disposed in a bore formed parallel to a longitudinal axis of the projectile, and the lockpin is urged by a spring to extend, so that a tip of the lockpin is engaged in a locating hole formed on a cover plate that is disposed over the safe-and-arm device or mechanism; wherein, after the projectile is propelled out of a launcher barrel and the projectile is a safe distance away from the launcher barrel, a second propellant is ignited, and the projectile experiences a second acceleration force or impulse together with spin forces, the lockpin, in response to both the second acceleration and spin forces, retracts and releases the unbalanced rotor to turn, such that after a predetermined elapsed of time, the safe-and-arm device or mechanism is rotated from a “safe” state to an “armed” state, as the projectile continues on its trajectory to a target.
Google Patents
https://patents.google.com/patent/US12287186
USPTO PDF
https://image-ppubs.uspto.gov/dirsearch-public/print/downloadPdf/12287186