US12287185 - Arrow shaft

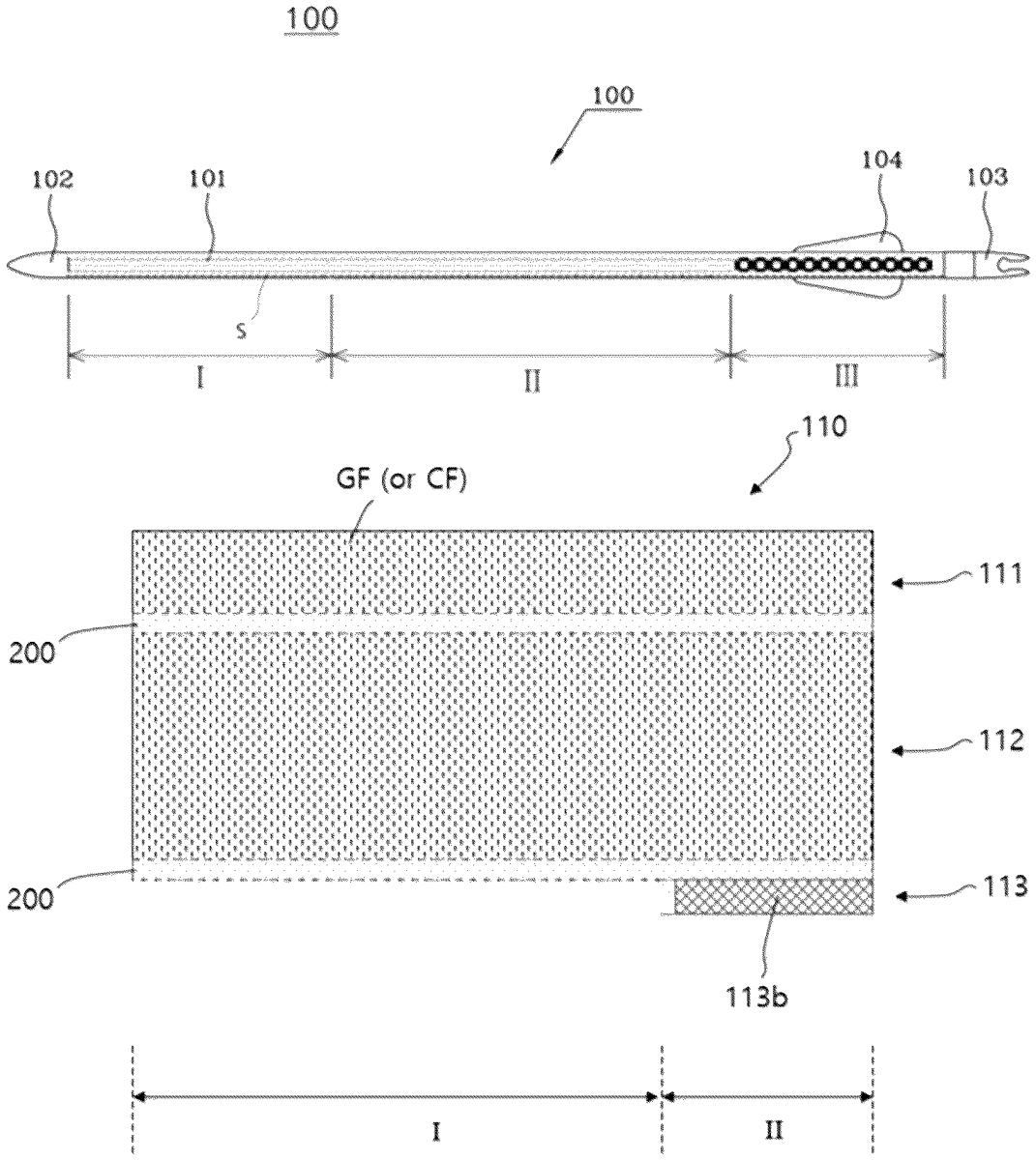
The patent describes an arrow shaft that features an arrowhead on one end and a nock on the other, constructed with multiple sheet layers wound around its body. These layers include a transparent or translucent first sheet member, an overlapping second sheet member, and an exposure sheet portion positioned between them.
Claim 1
- An arrow shaft, having an arrowhead on one side thereof and a nock on the other side thereof, the arrow shaft comprising: at least one sheet layer arranged in one direction to be wound in a stacked manner around at least one portion of a body of the arrow shaft, wherein the sheet layer comprises: a first sheet member, at least one portion thereof including a plurality of sheet portions formed of a transparent or translucent material; a second sheet member, at least one portion thereof being formed to overlap the first sheet member; and an exposure sheet portion interposed between the first sheet member and the second sheet member. at least one sheet layer arranged in one direction to be wound in a stacked manner around at least one portion of a body of the arrow shaft, wherein the sheet layer comprises: a first sheet member, at least one portion thereof including a plurality of sheet portions formed of a transparent or translucent material; a second sheet member, at least one portion thereof being formed to overlap the first sheet member; and an exposure sheet portion interposed between the first sheet member and the second sheet member.
Google Patents
https://patents.google.com/patent/US12287185
USPTO PDF
https://image-ppubs.uspto.gov/dirsearch-public/print/downloadPdf/12287185