US12292271 - Wedging arrangement to plug a blast hole

The patent describes a wedging arrangement designed to plug a blast hole containing an explosive charge, featuring two bodies that can slide relative to each other to secure the arrangement in place. This configuration allows the wedging mechanism to engage and disengage under stress, effectively containing the blast energy during detonation.
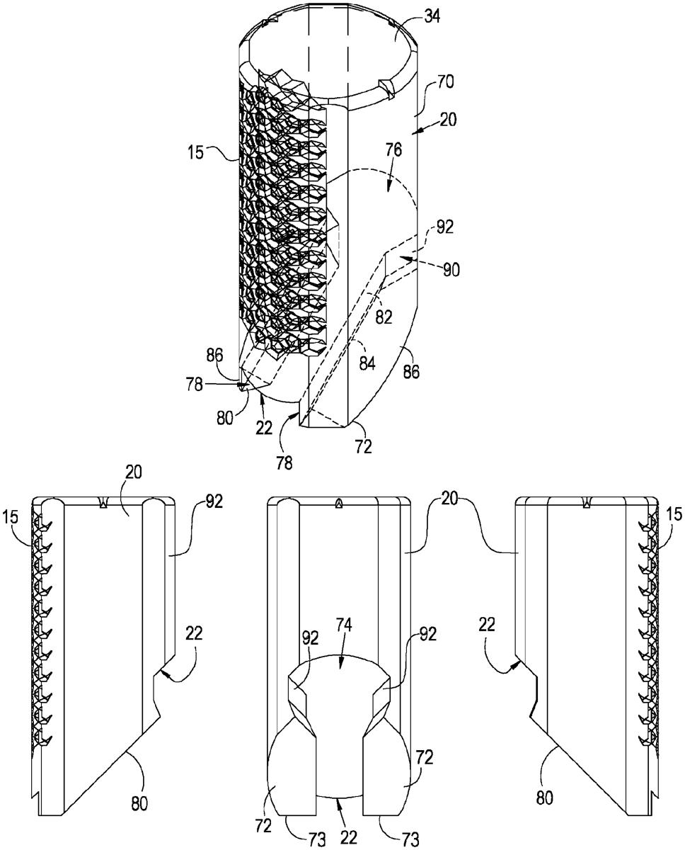
Claim 1
- A wedging arrangement to plug and fracture a blast hole accommodating an explosive charge, the blast hole defining a stemming portion, the wedging arrangement comprising a first body and a second body arranged to slide at an angle relative to each other; wherein the first and second bodies define a holding arrangement for holding the first and second parts relative to each other, the wedge arrangement being configurable between a default configuration in which the holding arrangement holds the first and second parts relative to each other, and a stressed configuration in which the first and second bodies are subjected to stress forces which thereby cause the holding arrangement to be disengaged to allow the first and second bodies to angularly slide relative to each other, in use slide sidewardly towards the walls of the blast hole so as to locate and lock the wedging arrangement in place within the blast hole in order to plug the blast hole and contain the blast energy resulting from the explosive charge being detonated, wherein the first body terminates in a first angled end face and the second body, axially aligned with the first body when the wedge arrangement is in the default configuration, terminates in a second angled end face, complementary to the first angled end face of the first body, further wherein the first body comprises a cylindrical body portion terminating in the first angled end face, which extends transversely to the body portion, the holding arrangement on the first body comprising an elongate first holding member extending or protruding from the first angled end face, the first holding member having a length corresponding to the length of the first angled end face and a width narrower than the width of the first angled end face, wherein the elongate first holding member includes an elongate sliding track and a relatively enlarged head proximate the operatively upper end of the elongate sliding track, when in use, further wherein the enlarged head defines a stopping member to ensure that, when the first and second bodies are pushed or compressed together when in their axially aligned, default configuration, the second body is only permitted to slidingly move away from the stopping member.
Google Patents
https://patents.google.com/patent/US12292271
USPTO PDF
https://image-ppubs.uspto.gov/dirsearch-public/print/downloadPdf/12292271