US12292521 - Detonator position determination

The patent describes a method for determining the closest detonator to an operator at a blast site using GPS technology and a series of calculations based on latitude and longitude coordinates of boreholes. By employing a tagging plan and performing a haversine calculation, the system identifies the nearest detonator to enhance safety and efficiency in blasting operations.
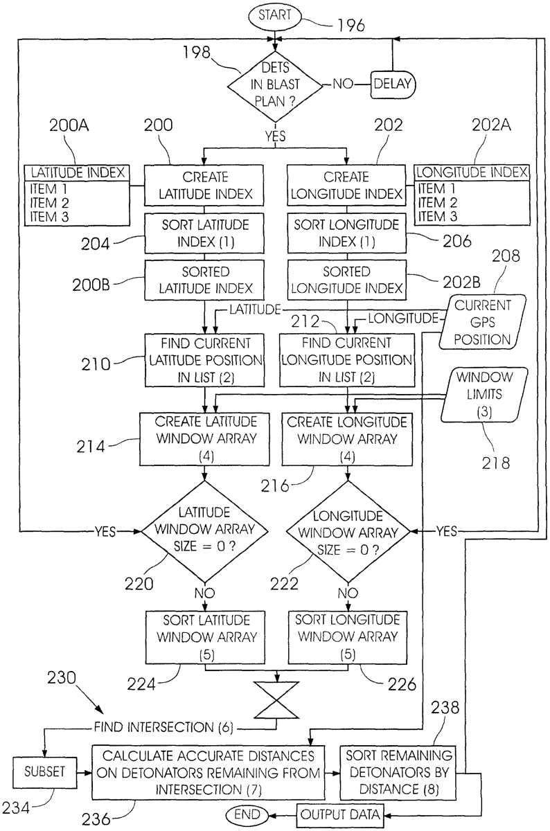
Claim 1
- A method of determining which detonator in a plurality of detonators at a blast site is closest to an operator who has a tagger, wherein the blast site has a plurality of boreholes each of which is associated with at least one respective detonator, the method including the steps of providing a reference GPS receiver which includes a transmitter which is located at the blast site, linking the tagger to at least one roving GPS receiver which is movable by the operator at the blast site and which receives positional data corrections from the transmitter at the reference GPS receiver, coupling the roving GPS receiver to a database which includes a tagging plan which contains positional data for each of the boreholes at the blast site, wherein said positional data includes respective latitude and longitude coordinate values for each borehole, and using said coordinate values and said positional data corrections to determine the position of a detonator which is closest to the tagger, characterized in that the method includes the further steps of creating a latitude index for the latitude values, creating a longitude index for the longitude values, sorting the latitude index into a desired sequence, sorting the longitude index into a desired sequence, at a given location of the tagger at the blast site, using the roving GPS receiver to determine current tagger latitude and current tagger longitude values, creating a latitude subset, from the latitude index, wherein the difference between each of the latitude values in the latitude subset and the current tagger latitude value is less than a first predetermined amount, creating a longitude subset from the longitude index wherein the difference between each of the longitude values in the subset and the current tagger longitude value is less than a second predetermined amount, sorting the latitude values in the latitude subset, sorting the longitude values in the longitude subset, generating an intersection of the latitude subset with the longitude subset, identifying each of the boreholes whose latitude and longitude values are included in the intersection and for each such borehole performing a haversine calculation using the respective latitude value and longitude value for the borehole and the current tagger latitude value and the current tagger longitude value to determine the distance between the tagger and the borehole, and selecting from such distance calculations the smallest value to obtain the position of the borehole which is closest to the tagger.
Google Patents
https://patents.google.com/patent/US12292521
USPTO PDF
https://image-ppubs.uspto.gov/dirsearch-public/print/downloadPdf/12292521