US12305954 - Loading mechanism for an air gun

The patent describes a loading mechanism for an air gun that features a housing with a loading chamber and a resilient bucking to securely hold ammunition. When the spring within the mechanism is compressed, it applies pressure to the bucking, sealing the ammunition in place for effective loading and firing.
Claim 1
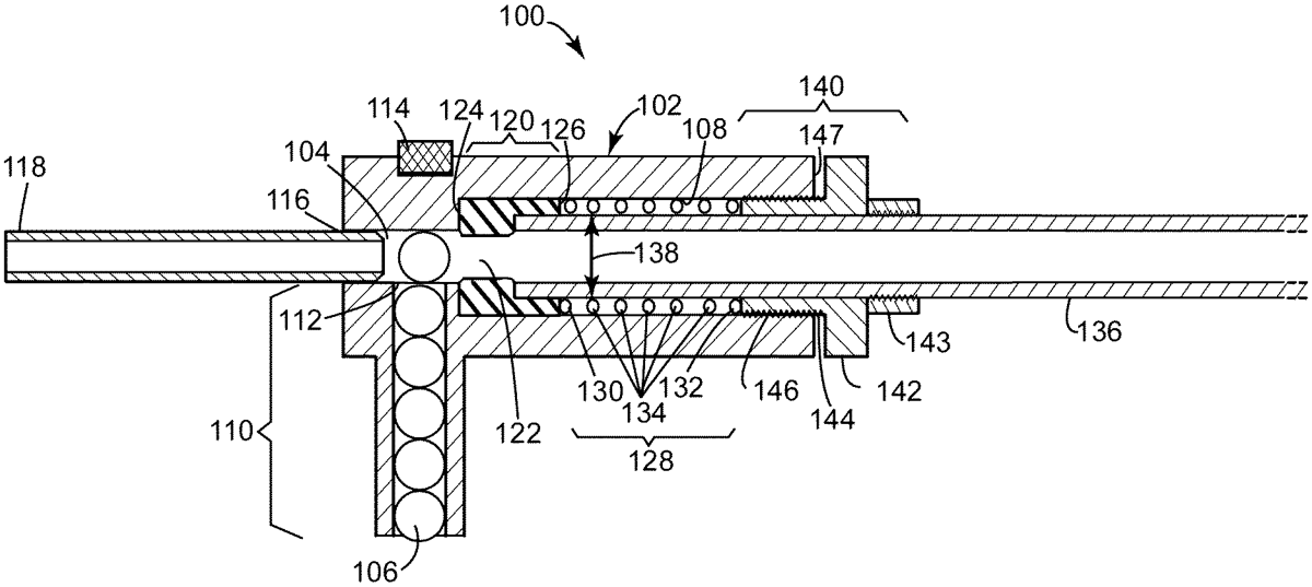
- A loading mechanism comprising: a housing comprising a loading chamber positioned adjacent to a housing passageway, the loading chamber operable to load ammunition therein; a resilient bucking disposed within the housing passageway, the bucking comprising a bucking passageway operable to receive ammunition transferred from the loading chamber; a spring having a plurality of spring coils, the spring disposed in the housing passageway and operable to apply pressure to the bucking when the spring is compressed; a gun barrel slidably positioned within the housing passageway, wherein the barrel of the air gun is positioned within an inner diameter of the spring; and a fastening mechanism operable to attach the gun barrel to the housing and to put the spring into compression; wherein, when the spring is compressed, pressure is applied to the bucking and the bucking passageway is collapsed inward to seal entirely around ammunition that is positioned within the bucking passageway. a housing comprising a loading chamber positioned adjacent to a housing passageway, the loading chamber operable to load ammunition therein; a resilient bucking disposed within the housing passageway, the bucking comprising a bucking passageway operable to receive ammunition transferred from the loading chamber; a spring having a plurality of spring coils, the spring disposed in the housing passageway and operable to apply pressure to the bucking when the spring is compressed; a gun barrel slidably positioned within the housing passageway, wherein the barrel of the air gun is positioned within an inner diameter of the spring; and a fastening mechanism operable to attach the gun barrel to the housing and to put the spring into compression; wherein, when the spring is compressed, pressure is applied to the bucking and the bucking passageway is collapsed inward to seal entirely around ammunition that is positioned within the bucking passageway.
Google Patents
https://patents.google.com/patent/US12305954
USPTO PDF
https://image-ppubs.uspto.gov/dirsearch-public/print/downloadPdf/12305954