US12305955 - Extendable baton with damage resistant locking mechanism

The patent describes an extendable baton featuring a locking mechanism that includes a clutch plate and a control rod, allowing for secure extension and retraction. The design incorporates a release button and a spring to facilitate the locking and unlocking process, enhancing the baton’s usability and safety.
Claim 1
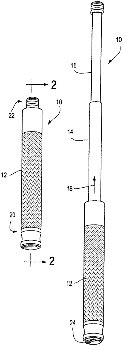
- An extendable baton, comprising; a base section, the base section being tubular and having a lengthwise axis, a first annular recess on an inner surface of a distal end and a release button on a proximal end, the first annular recess having a width; at least one extendable section, the extendable section being tubular and dimensioned to nest inside the base section coaxially with the longitudinal axis, the extendable section comprising a locking clutch on a proximate end, the locking clutch comprising: one single slot disposed on the proximate end of the extendable section; a clutch plate inserted through and disposed at least partially within the slot, the clutch plate including a locking portion having an arc that fits within the slot and a thickness that fits within the width of the first annular recess, and a control aperture portion; a guide cap inserted into and disposed on the proximate end of the extendable section including a guide aperture, the clutch plate seated within the guide cap through the one single slot wherein a distal end of the guide cap terminates at a distal end of the clutch plate; at least one spring disposed to bias between the guide cap and the clutch plate forcing the clutch plate outwardly from the slot of the extendable section; and a control rod connected to the release button, the control rod being insertable through the guide aperture and the control aperture to retract the clutch plate toward the slot of the extendable section when the release button is depressed. a base section, the base section being tubular and having a lengthwise axis, a first annular recess on an inner surface of a distal end and a release button on a proximal end, the first annular recess having a width; at least one extendable section, the extendable section being tubular and dimensioned to nest inside the base section coaxially with the longitudinal axis, the extendable section comprising a locking clutch on a proximate end, the locking clutch comprising: one single slot disposed on the proximate end of the extendable section; a clutch plate inserted through and disposed at least partially within the slot, the clutch plate including a locking portion having an arc that fits within the slot and a thickness that fits within the width of the first annular recess, and a control aperture portion; a guide cap inserted into and disposed on the proximate end of the extendable section including a guide aperture, the clutch plate seated within the guide cap through the one single slot wherein a distal end of the guide cap terminates at a distal end of the clutch plate; at least one spring disposed to bias between the guide cap and the clutch plate forcing the clutch plate outwardly from the slot of the extendable section; and one single slot disposed on the proximate end of the extendable section; a clutch plate inserted through and disposed at least partially within the slot, the clutch plate including a locking portion having an arc that fits within the slot and a thickness that fits within the width of the first annular recess, and a control aperture portion; a guide cap inserted into and disposed on the proximate end of the extendable section including a guide aperture, the clutch plate seated within the guide cap through the one single slot wherein a distal end of the guide cap terminates at a distal end of the clutch plate; at least one spring disposed to bias between the guide cap and the clutch plate forcing the clutch plate outwardly from the slot of the extendable section; and a control rod connected to the release button, the control rod being insertable through the guide aperture and the control aperture to retract the clutch plate toward the slot of the extendable section when the release button is depressed.
Google Patents
https://patents.google.com/patent/US12305955
USPTO PDF
https://image-ppubs.uspto.gov/dirsearch-public/print/downloadPdf/12305955