US12305956 - Optimized firearm panel

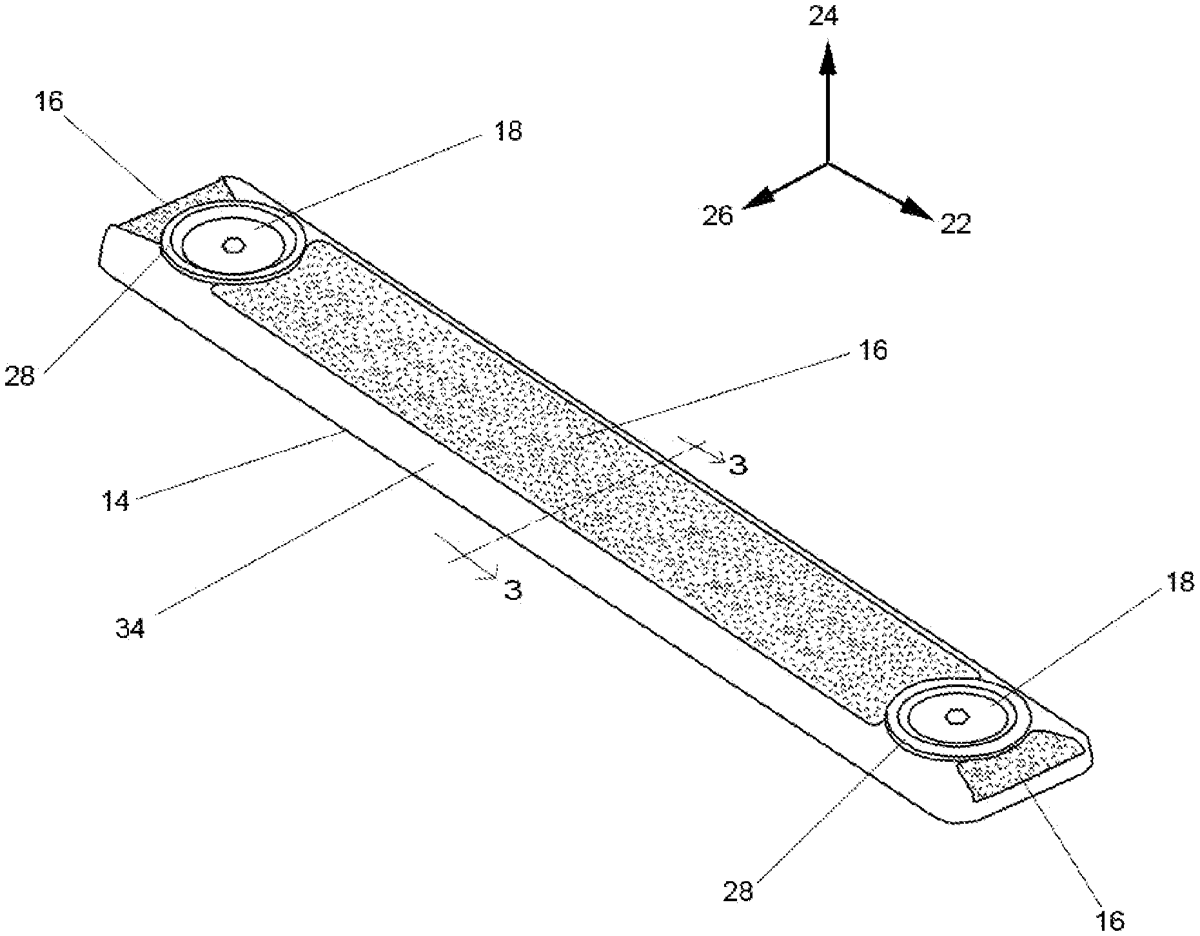
The patent describes a detachable grip panel for firearms that features an aggressively textured surface layer and a specially designed recessed area to enhance grip while minimizing snagging. The design incorporates an adhesive layer and thermal insulation properties, resulting in an ultra-slim profile.
Claim 1
- A panel configured to be affixed to a gun having a panel interface point, the panel comprising: a panel base having an attaching side and a grip side; said attaching side having at least one fastener securing said panel base to said panel interface point; said grip side having at least one recessed region having a predetermined depth; said recessed region having recessed region walls and being covered with an adhesive layer having a predetermined height; said recessed region walls inclined toward said adhesive layer; said recessed region walls overhang part of said recessed region; said adhesive layer being covered with an inlaid textured surface layer having a predetermined height, one or more mounds surround said fasteners, said one or more mounds create an empty space above said fasteners, and whereby the combined predetermined height of said adhesive layer and predetermined height of said inlaid textured surface layer are less than or equal to the predetermined depth of said recessed region; and said inclined recessed region walls prevents said adhesive layer from spreading above said predetermined height of said adhesive layer. a panel base having an attaching side and a grip side; said attaching side having at least one fastener securing said panel base to said panel interface point; said grip side having at least one recessed region having a predetermined depth; said recessed region having recessed region walls and being covered with an adhesive layer having a predetermined height; said recessed region walls inclined toward said adhesive layer; said recessed region walls overhang part of said recessed region; said adhesive layer being covered with an inlaid textured surface layer having a predetermined height, one or more mounds surround said fasteners, said one or more mounds create an empty space above said fasteners, and whereby the combined predetermined height of said adhesive layer and predetermined height of said inlaid textured surface layer are less than or equal to the predetermined depth of said recessed region; and said inclined recessed region walls prevents said adhesive layer from spreading above said predetermined height of said adhesive layer.
Google Patents
https://patents.google.com/patent/US12305956
USPTO PDF
https://image-ppubs.uspto.gov/dirsearch-public/print/downloadPdf/12305956