US12313357 - Flexible hinge based trigger for a firearm

firearmtriggermechanism
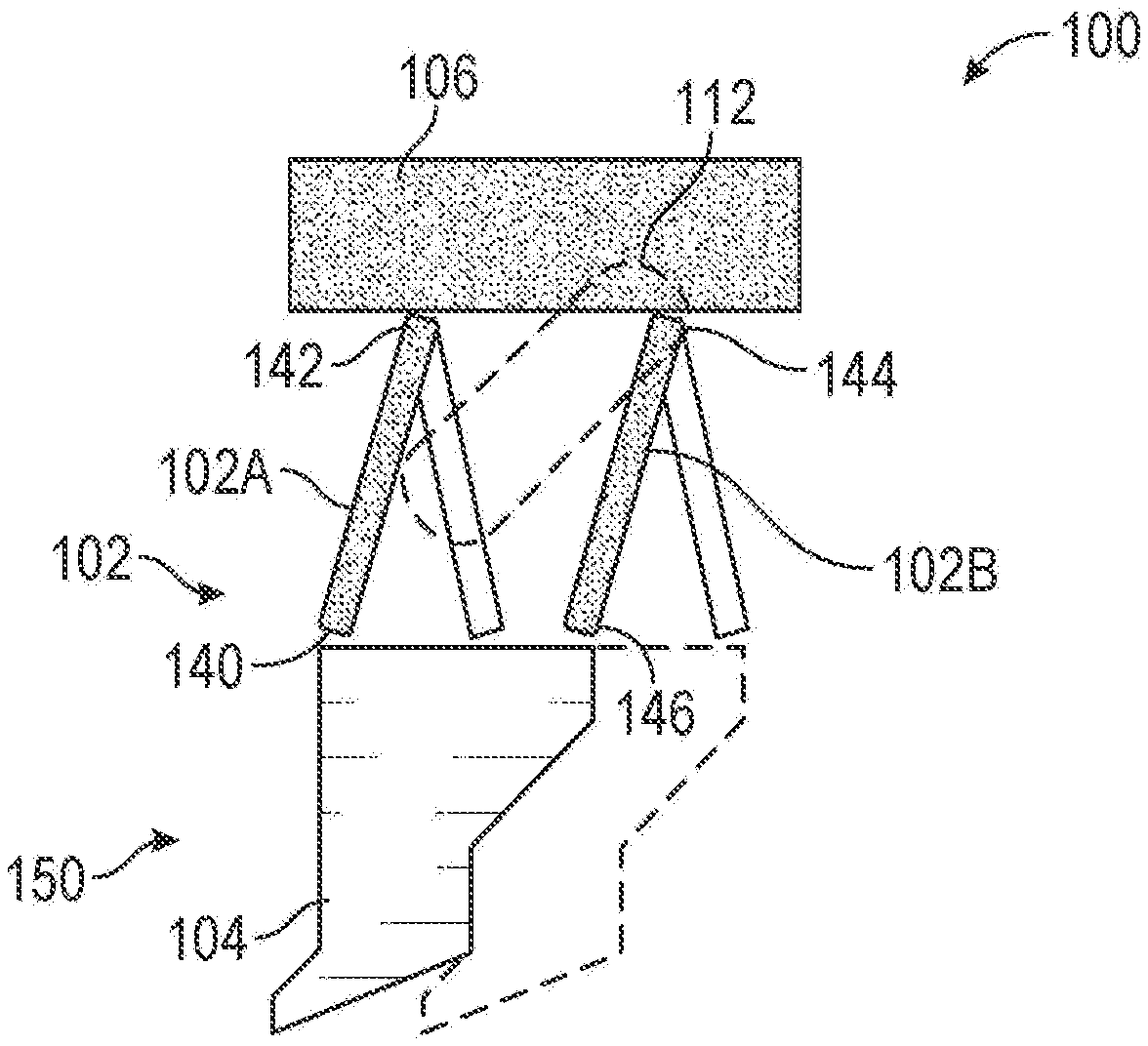
The patent describes a firearm trigger assembly that utilizes flexure hinges to connect a trigger shoe to the housing, allowing for relative motion through elastic deformation. This innovative mechanism aims to enhance the functionality and safety of the trigger and safety mechanisms in firearms.
Claim 1
- A firearm trigger assembly, comprising: a housing; a trigger shoe; and a flexible link connecting the trigger component shoe and the housing, wherein the flexible link comprises a flexible hinge, wherein a trigger bar is connected to the flexible link, wherein the flexible link includes a thin component and a thicker component. a housing; a trigger shoe; and a flexible link connecting the trigger component shoe and the housing, wherein the flexible link comprises a flexible hinge, wherein a trigger bar is connected to the flexible link, wherein the flexible link includes a thin component and a thicker component.
Google Patents
https://patents.google.com/patent/US12313357
USPTO PDF
https://image-ppubs.uspto.gov/dirsearch-public/print/downloadPdf/12313357