US12313358 - Sub-mass projectile for a firearm

firearmammunitionprojectile
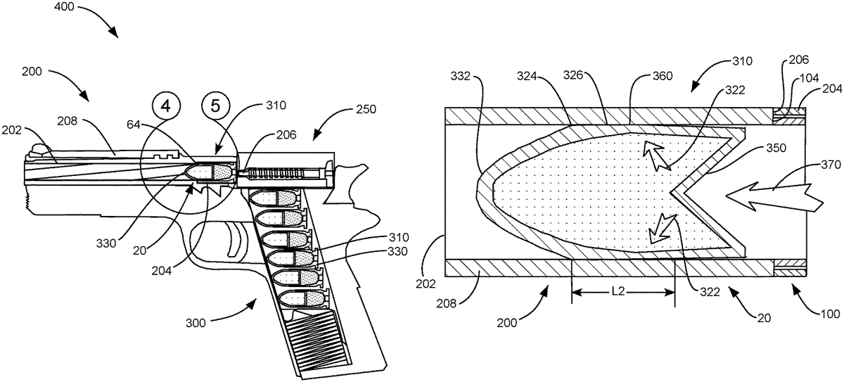
The patent describes a sub-mass projectile designed for standard, unmodified firearms, featuring a malleable core made partially from non-metal materials, which allows it to generate operational forces similar to standard projectiles. The method outlined involves selecting, loading, and discharging these sub-mass projectiles to ensure compatibility and performance with conventional firearms.
Claim 1
- A method of using a sub-mass projectile ammunition system in a standard, unmodified firearm, comprising: a) selecting bullets with sub-mass projectiles having a bearing surface and sized and shaped to engage with a corresponding bearing surface of the standard unmodified firearm, the sub-mass projectiles having a malleable core with at least a portion of the core being formed with a nonmetal material; b) loading a magazine with the selected bullets; c) inserting the magazine with the sub-mass projectile ammunition into the standard, unmodified firearm; and d) discharging the standard, unmodified firearm to propel the sub-mass projectile and engage the bearing surface of the projectile with the corresponding surface of the firearm to generate forces in the firearm that approximate operational forces of a standard mass projectile upon discharge of the firearm. a) selecting bullets with sub-mass projectiles having a bearing surface and sized and shaped to engage with a corresponding bearing surface of the standard unmodified firearm, the sub-mass projectiles having a malleable core with at least a portion of the core being formed with a nonmetal material; b) loading a magazine with the selected bullets; c) inserting the magazine with the sub-mass projectile ammunition into the standard, unmodified firearm; and d) discharging the standard, unmodified firearm to propel the sub-mass projectile and engage the bearing surface of the projectile with the corresponding surface of the firearm to generate forces in the firearm that approximate operational forces of a standard mass projectile upon discharge of the firearm.
Google Patents
https://patents.google.com/patent/US12313358
USPTO PDF
https://image-ppubs.uspto.gov/dirsearch-public/print/downloadPdf/12313358