US12332019 - Adjustable target sight

firearmsightadjustable
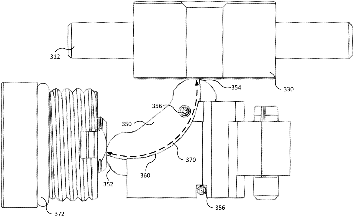
The patent describes an adjustable target sight for firearms featuring a base for attachment, a light source, and systems for both horizontal and vertical adjustments of the sight. The vertical adjustment system utilizes an adjustment screw, a curved track, and a slider to facilitate precise movement of the sight’s components.
Claim 1
- A target sight for a firearm, comprising: a base for securing a body of the target sight to the firearm; a light source coupled to a carrier mount that is disposed within a carrier plate; a horizontal adjustment system for the carrier plate structured to cause the carrier plate to move horizontally within the body of the target sight; and a vertical adjustment system for the carrier mount structured to cause the carrier mount to move vertically relative to the carrier plate, the vertical adjustment system including: an adjustment screw, a curved track, and a slider interfacing with the curved track and having a first edge and a second edge, the first edge structured to be acted upon by the adjustment screw and cause the slider to slide within the curved track, and the second edge structured to act upon the carrier mount and cause the carrier mount to move in a vertical direction when the slider slides within the curved track. a base for securing a body of the target sight to the firearm; a light source coupled to a carrier mount that is disposed within a carrier plate; a horizontal adjustment system for the carrier plate structured to cause the carrier plate to move horizontally within the body of the target sight; and a vertical adjustment system for the carrier mount structured to cause the carrier mount to move vertically relative to the carrier plate, the vertical adjustment system including: an adjustment screw, a curved track, and a slider interfacing with the curved track and having a first edge and a second edge, the first edge structured to be acted upon by the adjustment screw and cause the slider to slide within the curved track, and the second edge structured to act upon the carrier mount and cause the carrier mount to move in a vertical direction when the slider slides within the curved track. an adjustment screw, a curved track, and a slider interfacing with the curved track and having a first edge and a second edge, the first edge structured to be acted upon by the adjustment screw and cause the slider to slide within the curved track, and the second edge structured to act upon the carrier mount and cause the carrier mount to move in a vertical direction when the slider slides within the curved track.
Google Patents
https://patents.google.com/patent/US12332019
USPTO PDF
https://image-ppubs.uspto.gov/dirsearch-public/print/downloadPdf/12332019