US12332020 - Throw lever for a magnification ring of an optical sight

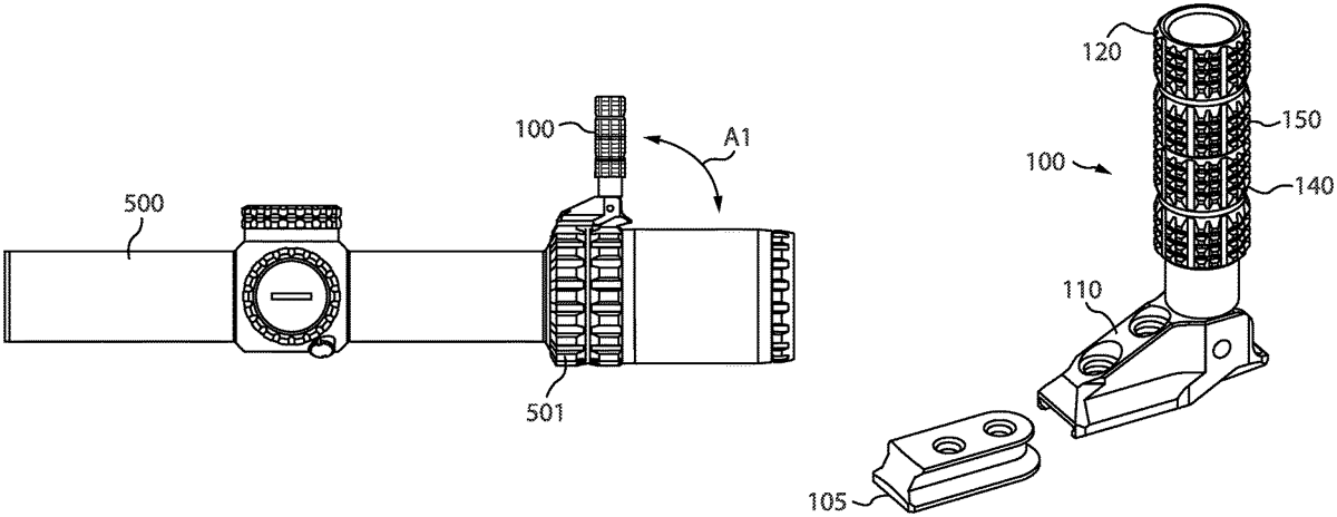
The patent describes a throw lever device designed for magnification rings on optical sights, featuring a base member and a pivotally attached lever member with a detent assembly. This assembly allows the lever to be securely held in multiple fixed positions, facilitating both operable and non-operable states.
Claim 1
- A system, comprising: at least a first optical sight comprising a magnification ring; a device including: a base member attachable to the magnification ring; and a lever member pivotally attached to the base member; wherein the lever member has a central longitudinal axis; wherein the lever member comprises a detent assembly axially disposed about the lever member; and wherein the base member and the detent assembly are operationally configured to retain the lever member in a plurality of fixed positions about the base member. at least a first optical sight comprising a magnification ring; a device including: a base member attachable to the magnification ring; and a lever member pivotally attached to the base member; a base member attachable to the magnification ring; and a lever member pivotally attached to the base member; wherein the lever member has a central longitudinal axis; wherein the lever member comprises a detent assembly axially disposed about the lever member; and wherein the base member and the detent assembly are operationally configured to retain the lever member in a plurality of fixed positions about the base member.
Google Patents
https://patents.google.com/patent/US12332020
USPTO PDF
https://image-ppubs.uspto.gov/dirsearch-public/print/downloadPdf/12332020