US12352545 - Reduced stiffness barrel fired projectile

projectileammunitionfirearm
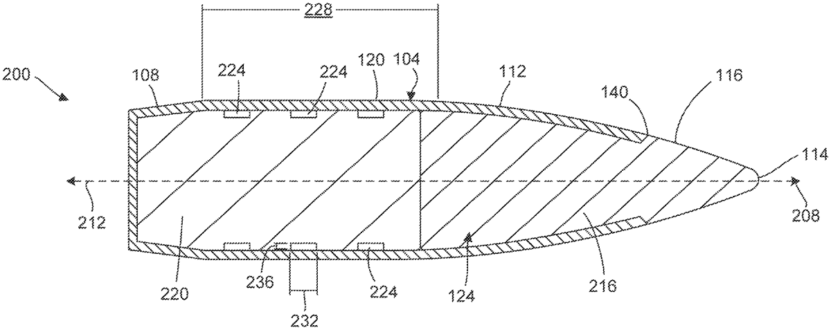
The patent describes a projectile designed with a metal jacket surrounding an interior core, featuring circumferential grooves that create a void during firing. This design allows for material displacement that reduces radial stiffness in the barrel engaging portion, enhancing the projectile’s performance.
Claim 1
- A projectile having: a projectile body including a tail portion, a nose portion, a barrel engaging portion between the nose portion and the tail portion, the projectile comprising a metal jacket that extends from the tail portion to at least the nose portion and that defines an exterior of the projectile the metal jacket extending around an interior core, wherein the portions of the projectile body are arranged along a central longitudinal axis; and wherein a plurality of circumferential grooves are defined in the interior core and not in the metal jacket, each of the one or more circumferential grooves covered by and positioned adjacent to the metal jacket; wherein during firing of the projectile, the one or more circumferential grooves define a void that allows material of the metal jacket and interior core to displace into the void for reduction in radial stiffness to the projectile in the barrel engaging portion. a projectile body including a tail portion, a nose portion, a barrel engaging portion between the nose portion and the tail portion, the projectile comprising a metal jacket that extends from the tail portion to at least the nose portion and that defines an exterior of the projectile the metal jacket extending around an interior core, wherein the portions of the projectile body are arranged along a central longitudinal axis; and wherein a plurality of circumferential grooves are defined in the interior core and not in the metal jacket, each of the one or more circumferential grooves covered by and positioned adjacent to the metal jacket; wherein during firing of the projectile, the one or more circumferential grooves define a void that allows material of the metal jacket and interior core to displace into the void for reduction in radial stiffness to the projectile in the barrel engaging portion.
Google Patents
https://patents.google.com/patent/US12352545
USPTO PDF
https://image-ppubs.uspto.gov/dirsearch-public/print/downloadPdf/12352545