US12352546 - Firearm ammunition component and method of use

firearmammunitionprojectile
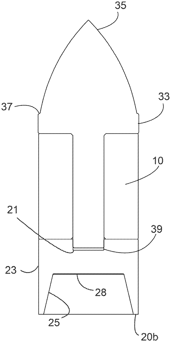
The patent describes a firearm ammunition component featuring a projectile body with a circular cross-section, a nose portion with a stabilizing element, and a gas check member that includes a combustion chamber. This design ensures that only the stabilizing element contacts the firearm bore during loading, promoting better alignment and performance.
Claim 1
- A firearm ammunition component, comprising: a projectile body having a circular cross-section and a central channel on a forward face; a nose portion forward of the projectile body, said nose portion having a shank extending in a rearward direction of said nose portion into said central channel of said projectile body; a gas check member rearward of the projectile body, having a rearward facing combustion chamber, and a forward-facing central recess extending into a portion of said gas check member interior, forming a depression or mortise to receive said shank, such that said recess is couplably engageable with said shank, and said shank is not exposed to said combustion chamber; the nose having a curved forward end, a rear end opposite the forward end, and a stabilizing element between the forward and rear ends extending radially outwards from a portion of the nose; the gas check member having an annular wall portion; wherein the stabilizing element forms a unitary construction with said nose portion, and comprises a first outer diameter, and the projectile body and the gas check member comprise a second outer diameter less than the first outer diameter, wherein the stabilizing element is adapted to contact a bore of a firearm, wherein at least one of the gas check member and projectile body are dimensioned to not contact said bore during loading. a projectile body having a circular cross-section and a central channel on a forward face; a nose portion forward of the projectile body, said nose portion having a shank extending in a rearward direction of said nose portion into said central channel of said projectile body; a gas check member rearward of the projectile body, having a rearward facing combustion chamber, and a forward-facing central recess extending into a portion of said gas check member interior, forming a depression or mortise to receive said shank, such that said recess is couplably engageable with said shank, and said shank is not exposed to said combustion chamber; the nose having a curved forward end, a rear end opposite the forward end, and a stabilizing element between the forward and rear ends extending radially outwards from a portion of the nose; the gas check member having an annular wall portion; wherein the stabilizing element forms a unitary construction with said nose portion, and comprises a first outer diameter, and the projectile body and the gas check member comprise a second outer diameter less than the first outer diameter, wherein the stabilizing element is adapted to contact a bore of a firearm, wherein at least one of the gas check member and projectile body are dimensioned to not contact said bore during loading.
Google Patents
https://patents.google.com/patent/US12352546
USPTO PDF
https://image-ppubs.uspto.gov/dirsearch-public/print/downloadPdf/12352546