US12352548 - Soft reusable grenade round for team-based shooting game

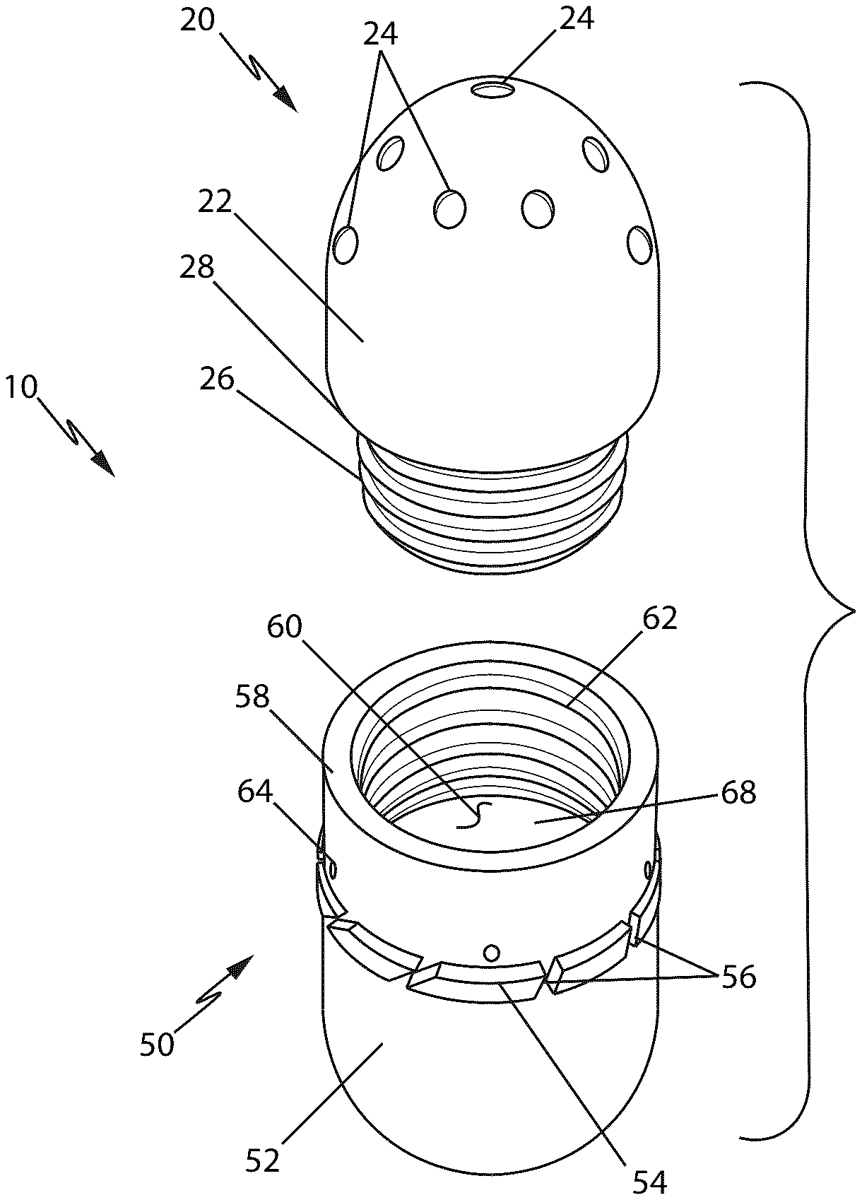
The patent describes a soft, reusable grenade round designed for team-based shooting games, featuring a top shell assembly and a bottom shell assembly that can be easily coupled and uncoupled. Both assemblies are made from a soft material like rubber and include specific design elements such as cavities, tabs, and grooves to enhance functionality.
Claim 1
- A soft reusable grenade round for team-based shooting game, comprising: A) a top shell assembly having a rounded top shell defining a cavity; B) a bottom shell assembly removably coupled to said top shell assembly, wherein said bottom shell assembly comprises a bottom shell defining an upper cavity and a lower cavity separated by an interior wall; wherein said bottom shell assembly further comprises tabs and grooves on a surface of said bottom shell; and wherein said bottom shell comprises a plurality of holes adjacent said tabs and grooves. A) a top shell assembly having a rounded top shell defining a cavity; B) a bottom shell assembly removably coupled to said top shell assembly, wherein said bottom shell assembly comprises a bottom shell defining an upper cavity and a lower cavity separated by an interior wall; wherein said bottom shell assembly further comprises tabs and grooves on a surface of said bottom shell; and wherein said bottom shell comprises a plurality of holes adjacent said tabs and grooves.
Google Patents
https://patents.google.com/patent/US12352548
USPTO PDF
https://image-ppubs.uspto.gov/dirsearch-public/print/downloadPdf/12352548