US12352547 - Modifying a projectile casing

projectilecasingmodification
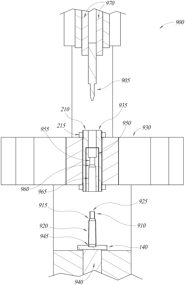
The patent describes a method for modifying a projectile casing using a die and mandrel to shape various sections of the casing, such as the neck and body. The process involves securing the casing, inserting it into the die, and then extracting the mandrel while the die remains in place.
Claim 1
- A method to modify a projectile casing, the method comprising: securing a projectile casing on a base; inserting a mandrel in a die, wherein the die includes a section to shape a neck section of the projectile casing; while the mandrel is inserted into the die, inserting the projectile casing into the die, wherein inserting the projectile casing into the die includes moving the projectile casing towards the die while the die is secured to a support structure; and after the projectile casing has been inserted into the die, extracting the mandrel away from the projectile casing and away from the die, wherein extracting the mandrel away from the projectile casing includes moving the mandrel away from a base section of the projectile casing towards a hole of the projectile casing until the mandrel is completely outside of the projectile casing while the die is secured to the support structure. securing a projectile casing on a base; inserting a mandrel in a die, wherein the die includes a section to shape a neck section of the projectile casing; while the mandrel is inserted into the die, inserting the projectile casing into the die, wherein inserting the projectile casing into the die includes moving the projectile casing towards the die while the die is secured to a support structure; and after the projectile casing has been inserted into the die, extracting the mandrel away from the projectile casing and away from the die, wherein extracting the mandrel away from the projectile casing includes moving the mandrel away from a base section of the projectile casing towards a hole of the projectile casing until the mandrel is completely outside of the projectile casing while the die is secured to the support structure.
Google Patents
https://patents.google.com/patent/US12352547
USPTO PDF
https://image-ppubs.uspto.gov/dirsearch-public/print/downloadPdf/12352547