US12359886 - Muzzle device assemblies

muzzle_devicefirearm_accessory
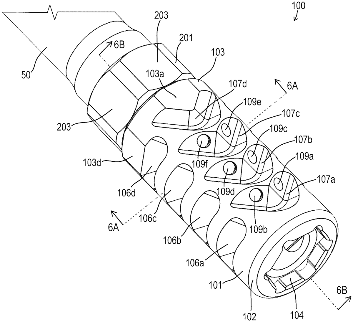
The patent describes a muzzle device assembly for firearms that features a body with multiple openings on both sides and a top, where certain openings intersect to create a common hole. This design includes at least four slotted openings on each side that extend from the interior to the exterior of the body.
Claim 1
- A muzzle device assembly for a firearm comprising: a body; and a rear member attached to a rear of the body, wherein: the body comprises a plurality of openings on a left side of the body and a plurality of openings on a right side of the body; at least one pair of openings on a top of the body; the at least one pair of openings intersect one another and form a common hole at an interior surface of the body; the plurality of openings on the left side of the body comprises at least four slotted openings extending from the interior surface of the body to an exterior of the body; and the plurality of openings on the right side of the body comprises at least four slotted openings extending from the interior surface of the body to the exterior of the body. a body; and a rear member attached to a rear of the body, wherein: the body comprises a plurality of openings on a left side of the body and a plurality of openings on a right side of the body; at least one pair of openings on a top of the body; the at least one pair of openings intersect one another and form a common hole at an interior surface of the body; the plurality of openings on the left side of the body comprises at least four slotted openings extending from the interior surface of the body to an exterior of the body; and the plurality of openings on the right side of the body comprises at least four slotted openings extending from the interior surface of the body to the exterior of the body.
Google Patents
https://patents.google.com/patent/US12359886
USPTO PDF
https://image-ppubs.uspto.gov/dirsearch-public/print/downloadPdf/12359886