US12359887 - Firearm barrel with outer sleeve

firearmbarrelassembly
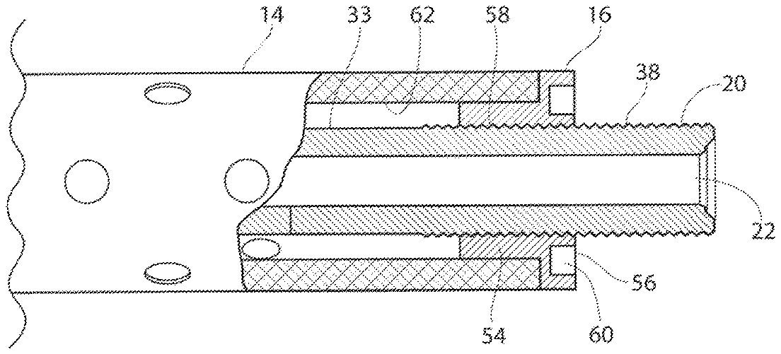
The patent describes a firearm barrel assembly that features an inner barrel tube and an outer sleeve, with a sleeve nut used to secure and tension the assembly. This design includes an air gap between the inner and outer components, enhancing stability and performance.
Claim 1
- A firearm barrel assembly comprising: an inner firearm barrel made of a first material, said inner firearm barrel having an entrance end and an exit end, said exit end having a sleeve thread; said inner firearm barrel includes an end flange positioned at said entrance end of said inner firearm barrel, said inner firearm barrel further including a support section proximate to said end flange; an outer sleeve secured around said inner firearm barrel and supported by said support section, said outer sleeve made of a second material; an air gap formed between said inner firearm barrel and said outer sleeve, said sleeve thread having a distal end and a proximal end; and a sleeve nut threaded onto said exit end of said inner firearm barrel past said distal end of said sleeve thread and allowing said distal end to extend outwardly past said sleeve nut to secure said outer sleeve in place on said inner firearm barrel, wherein tightening said sleeve nut on said inner firearm barrel fully tensions said inner firearm barrel and compresses said outer sleeve. an inner firearm barrel made of a first material, said inner firearm barrel having an entrance end and an exit end, said exit end having a sleeve thread; said inner firearm barrel includes an end flange positioned at said entrance end of said inner firearm barrel, said inner firearm barrel further including a support section proximate to said end flange; an outer sleeve secured around said inner firearm barrel and supported by said support section, said outer sleeve made of a second material; an air gap formed between said inner firearm barrel and said outer sleeve, said sleeve thread having a distal end and a proximal end; and a sleeve nut threaded onto said exit end of said inner firearm barrel past said distal end of said sleeve thread and allowing said distal end to extend outwardly past said sleeve nut to secure said outer sleeve in place on said inner firearm barrel, wherein tightening said sleeve nut on said inner firearm barrel fully tensions said inner firearm barrel and compresses said outer sleeve.
Google Patents
https://patents.google.com/patent/US12359887
USPTO PDF
https://image-ppubs.uspto.gov/dirsearch-public/print/downloadPdf/12359887