US12359891 - Adjustable clip system for holsters and sheaths

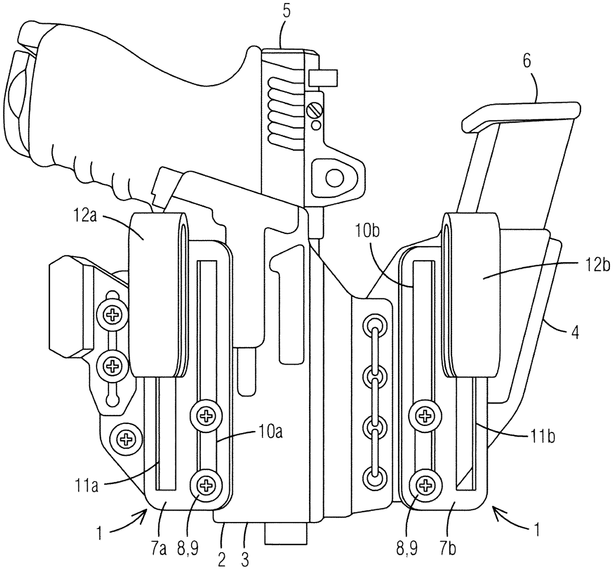
The invention presents an adjustable clip system designed for holsters and sheaths, enabling users to modify the height of their carry without altering their belt or clothing. This system includes a channeled member with openings for attachment, a compressible spacer, and a U-shaped clip that allows for vertical adjustment while remaining stationary relative to the wearer.
Claim 1
- An adjustable clip system securable to a sheath or a holster for allowing a height of the sheath or the holster to be adjusted in relation to a fixed attachment point on a wearer, the adjustable clip system comprising: a channeled member having a first opening and a second opening adjacent to the first opening wherein the channeled member is attachable to the sheath or the holster; at least one compressible spacer and at least one adjustment fastener; at least one attachment fastener extending through the first opening and secured to an opening in the sheath or the holster for securing the channeled member to the sheath or the holster; and at least one U-shaped clip being slidably attached to the second opening to allow the U-shaped clip to slide in an upward direction and a downward direction in relation to at least one first opening, the U-shaped clip remaining stationary with respect to the wearer wherein the at least one adjustment fastener extends through an opening in the U-shaped clip and through the compressible spacer. a channeled member having a first opening and a second opening adjacent to the first opening wherein the channeled member is attachable to the sheath or the holster; at least one compressible spacer and at least one adjustment fastener; at least one attachment fastener extending through the first opening and secured to an opening in the sheath or the holster for securing the channeled member to the sheath or the holster; and at least one U-shaped clip being slidably attached to the second opening to allow the U-shaped clip to slide in an upward direction and a downward direction in relation to at least one first opening, the U-shaped clip remaining stationary with respect to the wearer wherein the at least one adjustment fastener extends through an opening in the U-shaped clip and through the compressible spacer.
Google Patents
https://patents.google.com/patent/US12359891
USPTO PDF
https://image-ppubs.uspto.gov/dirsearch-public/print/downloadPdf/12359891