US12359892 - Archery bow sight support systems

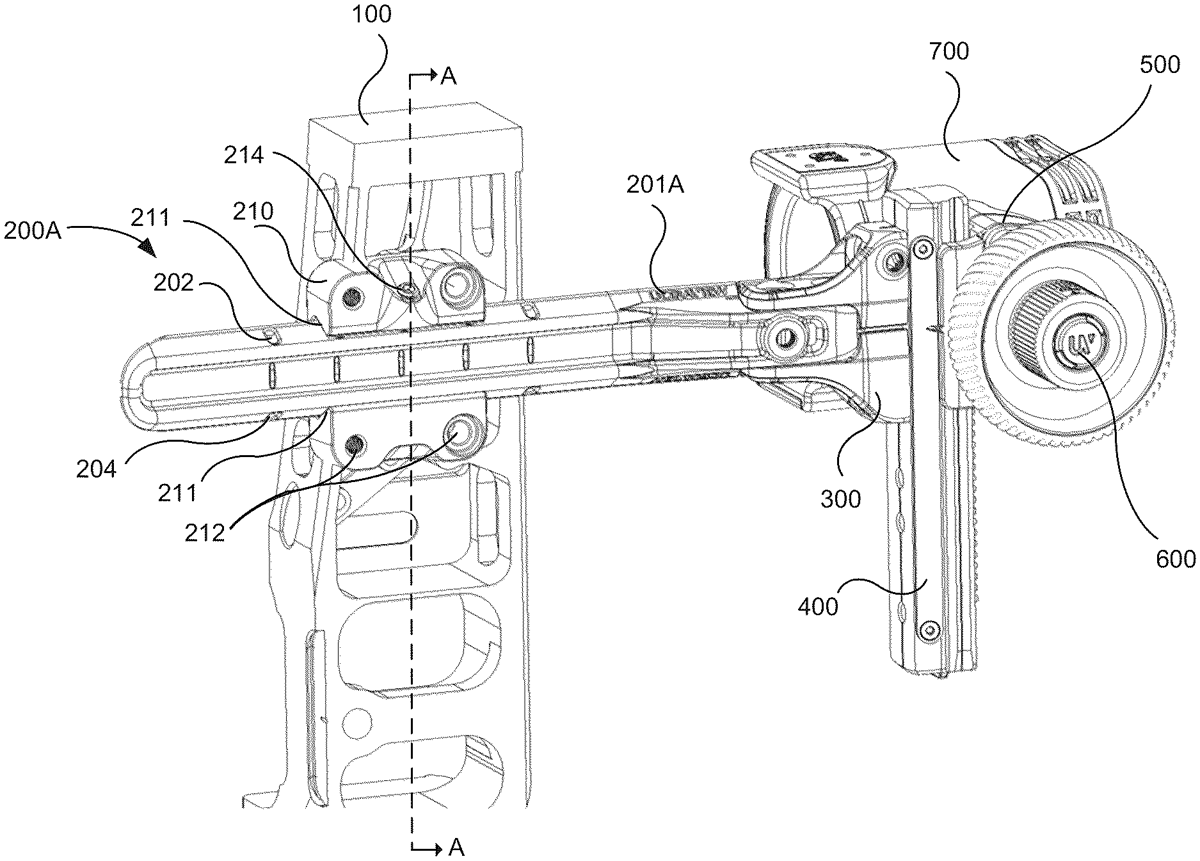
The patent describes a support system for an optical sighting device on a bow, featuring an elevation assembly and a windage assembly that can be adjusted independently. The system includes actuators for both elevation and windage adjustments, along with a lock lever to secure the elevation assembly in place when aiming at a target.
Claim 1
- A support system for an optical sighting device of a bow, the support system comprising: a support structure configured to attach to a bow; an elevation assembly configured to move along an elevation direction relative to the support structure; an elevation actuator configured to cause the elevation assembly to move along the elevation direction when the elevation actuator is rotated about an axis; a lock lever configured to transition between a locked position and an unlocked position, the lock lever configured to generally prevent the elevation assembly from moving along the elevation direction when in the locked position, the lock lever being positioned near a top end of the elevation actuator when the optical sighting device is oriented to aim toward a target; a windage assembly configured to move along a windage direction relative to the support structure, the windage direction being perpendicular to the elevation direction; and a windage actuator configured to cause the windage assembly to move along the windage direction when the windage actuator is rotated about the axis. a support structure configured to attach to a bow; an elevation assembly configured to move along an elevation direction relative to the support structure; an elevation actuator configured to cause the elevation assembly to move along the elevation direction when the elevation actuator is rotated about an axis; a lock lever configured to transition between a locked position and an unlocked position, the lock lever configured to generally prevent the elevation assembly from moving along the elevation direction when in the locked position, the lock lever being positioned near a top end of the elevation actuator when the optical sighting device is oriented to aim toward a target; a windage assembly configured to move along a windage direction relative to the support structure, the windage direction being perpendicular to the elevation direction; and a windage actuator configured to cause the windage assembly to move along the windage direction when the windage actuator is rotated about the axis.
Google Patents
https://patents.google.com/patent/US12359892
USPTO PDF
https://image-ppubs.uspto.gov/dirsearch-public/print/downloadPdf/12359892