US12359896 - Detonator including a multidimensional circuit board

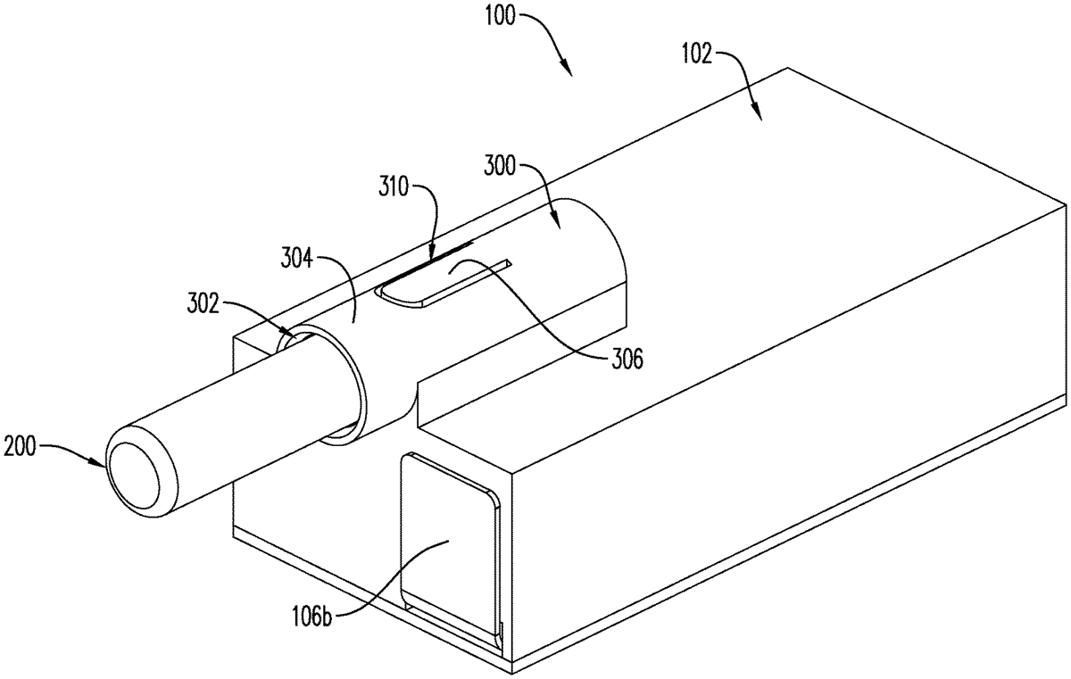
The patent describes a detonator that incorporates a multidimensional circuit board and a unique appendage design for securely retaining a detonating capsule. This configuration allows for efficient engagement and detachment of the detonating capsule, enhancing the functionality of the detonator.
Claim 1
- A detonator, comprising: a housing; a first printed circuit board supported in the housing; an appendage extending from the housing and defining a channel, the appendage having a tab; and a detonating capsule configured for receipt in the channel of the appendage, wherein the detonating capsule defines an opening configured to be selectively engaged by the tab to retain the detonating capsule in the channel of the appendage; wherein the first printed circuit board includes: a main body portion; and a bent portion extending from the main body portion, the bent portion configured to detachably couple to the detonating capsule and is received in the channel of the appendage. a housing; a first printed circuit board supported in the housing; an appendage extending from the housing and defining a channel, the appendage having a tab; and a detonating capsule configured for receipt in the channel of the appendage, wherein the detonating capsule defines an opening configured to be selectively engaged by the tab to retain the detonating capsule in the channel of the appendage; wherein the first printed circuit board includes: a main body portion; and a bent portion extending from the main body portion, the bent portion configured to detachably couple to the detonating capsule and is received in the channel of the appendage. a main body portion; and a bent portion extending from the main body portion, the bent portion configured to detachably couple to the detonating capsule and is received in the channel of the appendage.
Google Patents
https://patents.google.com/patent/US12359896
USPTO PDF
https://image-ppubs.uspto.gov/dirsearch-public/print/downloadPdf/12359896