US12359897 - Pyrotechnic launch units and systems

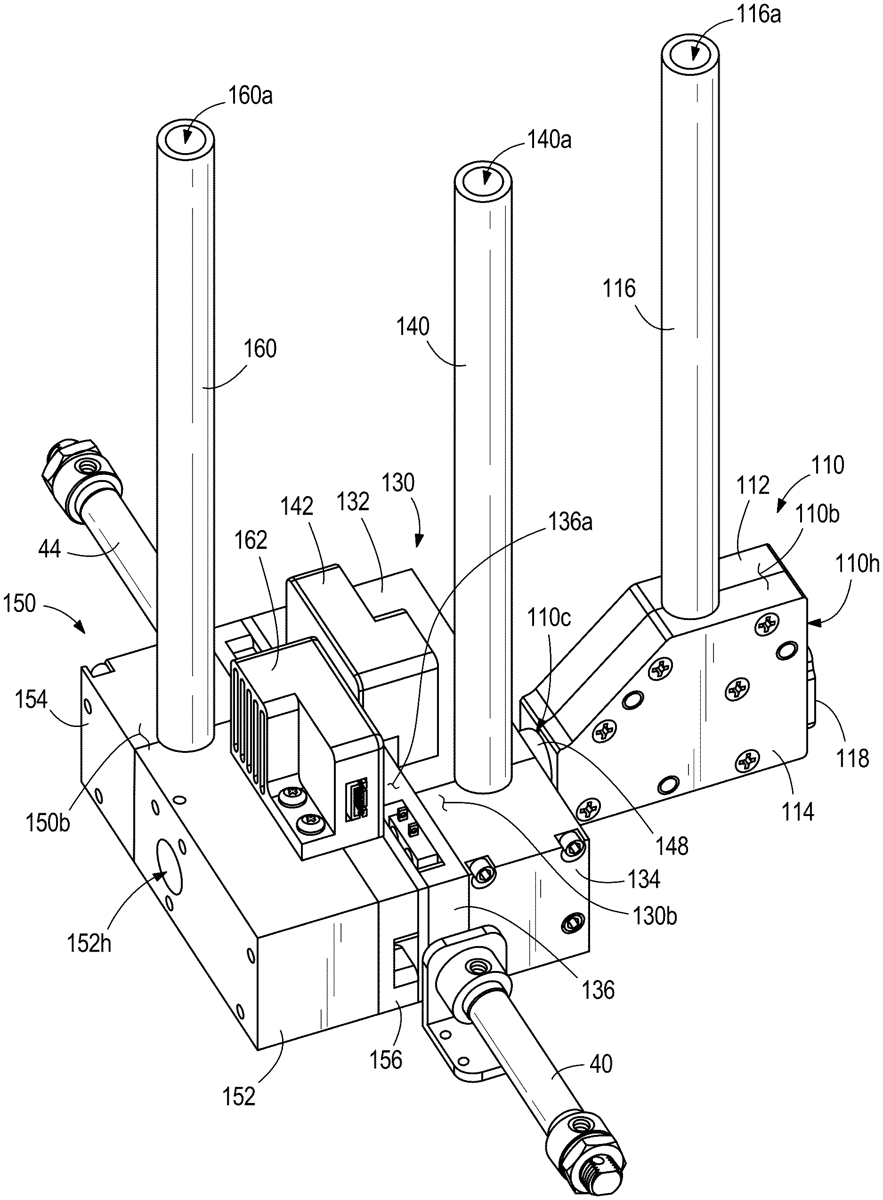
The patent describes a modular pyrotechnic launch unit that comprises a launch module and two additional modules, each capable of igniting pyrotechnic elements. The design allows for selective ignition and pass-through of projectiles, enhancing versatility in launching pyrotechnic elements.
Claim 1
- A pyrotechnic element projectile launch unit comprising: a first module including; a first chamber extending from a first inlet opening to a first outlet opening, and a first load bore and a first pass-through bore selectively positioned in communication with the first chamber, the first load bore configured to load a first pyrotechnic element projectile in the first chamber; a second module including; a second chamber having a second outlet in communication with the first inlet opening, and a second load bore selectively positioned in communication with the second chamber, the second load bore configured to load a second pyrotechnic element projectile in the second chamber; and an ignition module configured to ignite at least one of the first pyrotechnic element projectile and the second pyrotechnic element projectile; wherein with the first pass-through bore positioned in communication with the first chamber, the second pyrotechnic element projectile is permitted to pass through the second outlet, the first inlet opening, and the first pass-through bore to the first outlet opening. a first module including; a first chamber extending from a first inlet opening to a first outlet opening, and a first load bore and a first pass-through bore selectively positioned in communication with the first chamber, the first load bore configured to load a first pyrotechnic element projectile in the first chamber; a first chamber extending from a first inlet opening to a first outlet opening, and a first load bore and a first pass-through bore selectively positioned in communication with the first chamber, the first load bore configured to load a first pyrotechnic element projectile in the first chamber; a second module including; a second chamber having a second outlet in communication with the first inlet opening, and a second load bore selectively positioned in communication with the second chamber, the second load bore configured to load a second pyrotechnic element projectile in the second chamber; and a second chamber having a second outlet in communication with the first inlet opening, and a second load bore selectively positioned in communication with the second chamber, the second load bore configured to load a second pyrotechnic element projectile in the second chamber; and an ignition module configured to ignite at least one of the first pyrotechnic element projectile and the second pyrotechnic element projectile; wherein with the first pass-through bore positioned in communication with the first chamber, the second pyrotechnic element projectile is permitted to pass through the second outlet, the first inlet opening, and the first pass-through bore to the first outlet opening.
Google Patents
https://patents.google.com/patent/US12359897
USPTO PDF
https://image-ppubs.uspto.gov/dirsearch-public/print/downloadPdf/12359897