US12372327 - Accessory mounting system and method of using the same

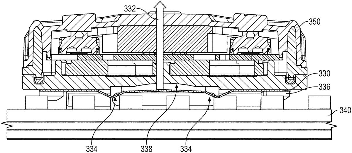
The patent describes an accessory attachment system featuring a mounting rail with alternating protrusions and recesses, designed to securely hold an accessory in place using a friction plate. This system allows for the accessory to be repositioned along the rail when a force greater than the friction force is applied.
Claim 1
- An accessory attachment system comprising: a mounting rail comprising a plurality of protrusions and recesses, wherein the protrusions and recesses alternate in a repeating pattern along the mounting rail; an accessory configured to be mounted on the mounting rail; a friction plate configured to hold the accessory in a position on the mounting rail, wherein the friction plate comprises a friction feature configured to interact with the plurality of protrusions and recesses to create a friction force that holds the accessory in the position, wherein the friction feature is configured to cause a deflection of the friction plate in a deflection direction when interacting with the plurality of protrusions and recesses, wherein the friction plate and the friction feature are formed from the same piece in a unitary construction, wherein the friction plate is configured to temporarily deform, wherein the friction force is created by the interaction of friction features with the plurality of protrusions and recesses of the mounting rail; and wherein the accessory attachment system allows for movement of the accessory along the rail with an application of force, wherein the applied force is greater than the friction force. a mounting rail comprising a plurality of protrusions and recesses, wherein the protrusions and recesses alternate in a repeating pattern along the mounting rail; an accessory configured to be mounted on the mounting rail; a friction plate configured to hold the accessory in a position on the mounting rail, wherein the friction plate comprises a friction feature configured to interact with the plurality of protrusions and recesses to create a friction force that holds the accessory in the position, wherein the friction feature is configured to cause a deflection of the friction plate in a deflection direction when interacting with the plurality of protrusions and recesses, wherein the friction plate and the friction feature are formed from the same piece in a unitary construction, wherein the friction plate is configured to temporarily deform, wherein the friction force is created by the interaction of friction features with the plurality of protrusions and recesses of the mounting rail; and wherein the accessory attachment system allows for movement of the accessory along the rail with an application of force, wherein the applied force is greater than the friction force.
Google Patents
https://patents.google.com/patent/US12372327
USPTO PDF
https://image-ppubs.uspto.gov/dirsearch-public/print/downloadPdf/12372327