US12372328 - Laser-rangefinding sight

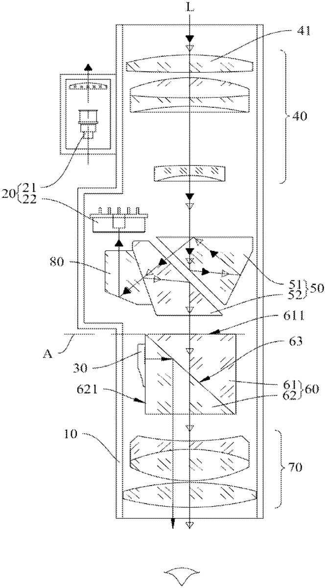
The patent describes a laser-rangefinding sight that integrates a rangefinder assembly, display screen, and various optical components within a housing to enhance aiming accuracy. The design features a unique reticle set with prisms and a reflective film that projects information from the display screen to the user’s eye, improving usability in shooting applications.
Claim 1
- A sight, comprising: a housing, a rangefinder assembly, a display screen provided in the housing and electrically connected to the rangefinder assembly, an objective lens set, an image inverter set, a reticle set, and an eyepiece set provided in the housing and sequentially arranged from an object side to an eye side, wherein the reticle set comprises a first prism and a second prism cemented to each other; a reflective film is provided on a first cemented plane of the first prism and the second prism; the first prism has a first plane provided on an imaging plane; the second prism has a second plane perpendicular to the first plane; the first plane is provided with a reticle pattern; a light-emitting plane of the display screen is attached to the second plane; and the reflective film is configured to reflect light from the display screen to the eye side. a housing, a rangefinder assembly, a display screen provided in the housing and electrically connected to the rangefinder assembly, an objective lens set, an image inverter set, a reticle set, and an eyepiece set provided in the housing and sequentially arranged from an object side to an eye side, wherein the reticle set comprises a first prism and a second prism cemented to each other; a reflective film is provided on a first cemented plane of the first prism and the second prism; the first prism has a first plane provided on an imaging plane; the second prism has a second plane perpendicular to the first plane; the first plane is provided with a reticle pattern; a light-emitting plane of the display screen is attached to the second plane; and the reflective film is configured to reflect light from the display screen to the eye side.
Google Patents
https://patents.google.com/patent/US12372328
USPTO PDF
https://image-ppubs.uspto.gov/dirsearch-public/print/downloadPdf/12372328