US12385712 - Slingshot

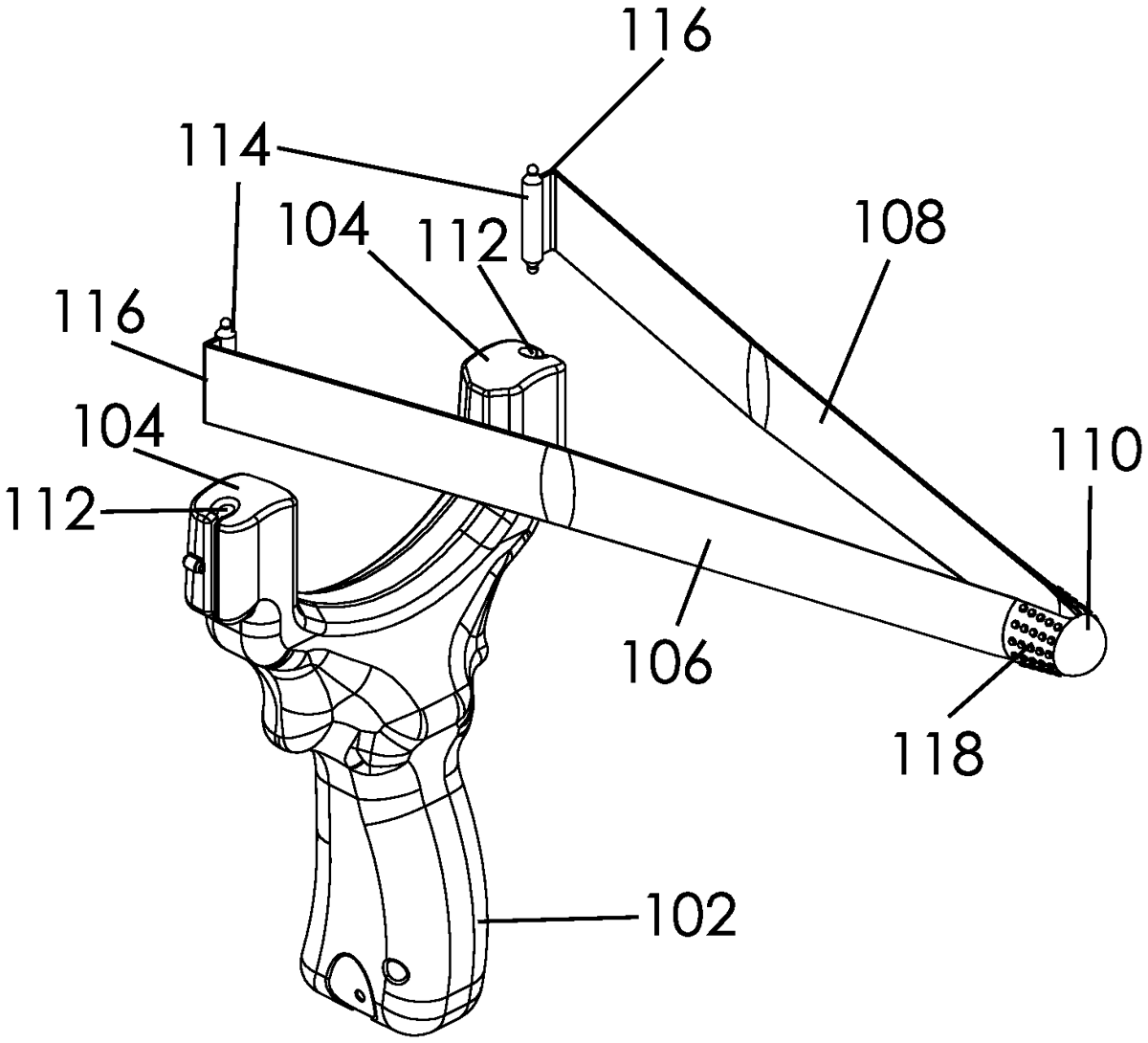
The patent describes an improved slingshot featuring a grip with two arms and a resiliently stretchable sling made from a single material, which includes two bands and two pouches. Each band has mounting formations that allow for releasable attachment to the slingshot arms, enhancing versatility and ease of use.
Claim 1
- An improved slingshot comprising: a. a grip comprising: i. a handle; ii. a first arm coupled to the handle; and iii. a second arm coupled to the handle; b. a first resiliently stretchable first sling comprising: i. a first resiliently stretchable band comprising a first end and an opposite second end; ii. a second resiliently stretchable band comprising a third end and an opposite fourth end; iii. a first mounting formation integrally formed with the first resiliently stretchable band second end; iv. a second mounting formation integrally formed with the second resiliently stretchable band fourth end; and v. a first pouch integrally formed with the first resiliently stretchable band first end and the second resiliently stretchable band third end; a. a grip comprising: i. a handle; ii. a first arm coupled to the handle; and iii. a second arm coupled to the handle; i. a handle; ii. a first arm coupled to the handle; and iii. a second arm coupled to the handle; b. a first resiliently stretchable first sling comprising: i. a first resiliently stretchable band comprising a first end and an opposite second end; ii. a second resiliently stretchable band comprising a third end and an opposite fourth end; iii. a first mounting formation integrally formed with the first resiliently stretchable band second end; iv. a second mounting formation integrally formed with the second resiliently stretchable band fourth end; and v. a first pouch integrally formed with the first resiliently stretchable band first end and the second resiliently stretchable band third end; i. a first resiliently stretchable band comprising a first end and an opposite second end; ii. a second resiliently stretchable band comprising a third end and an opposite fourth end; iii. a first mounting formation integrally formed with the first resiliently stretchable band second end; iv. a second mounting formation integrally formed with the second resiliently stretchable band fourth end; and v. a first pouch integrally formed with the first resiliently stretchable band first end and the second resiliently stretchable band third end; wherein, the first resiliently stretchable band, the second resiliently stretchable band, the pouch and the first and the second mounting formations are all formed from the same material; the first mounting formation is configured to be releasably attached to the first arm; and the second mounting formation is configured to be releasably attached to the second arm; a second sling comprising: a. a third resiliently stretchable band comprising a fifth end and an opposite six end; b. a fourth resiliently stretchable band comprising a seventh end and an opposite eighth end; c. a third mounting formation integrally formed with the third resiliently stretchable band sixth end; d. a fourth mounting formation integrally formed with the fourth resiliently stretchable band eighth end; and e. a second pouch integrally formed with the third resiliently stretchable band fifth end and the fourth resiliently stretchable band seventh end; wherein, the third resiliently stretchable band, the fourth resiliently stretchable band, the second pouch and the third and the fourth mounting formations are all formed from the same material; the third mounting formation is configured to be releasably attached to the first arm; and the fourth mounting formation is configured to be releasably attached to the second arm; a. the first pouch defining a first cavity having a first shape; b. the second pouch defining a second cavity having a second shape; and c. the first shape and the second shape differ. the first resiliently stretchable band, the second resiliently stretchable band, the pouch and the first and the second mounting formations are all formed from the same material; the first mounting formation is configured to be releasably attached to the first arm; and the second mounting formation is configured to be releasably attached to the second arm; a second sling comprising: a. a third resiliently stretchable band comprising a fifth end and an opposite six end; b. a fourth resiliently stretchable band comprising a seventh end and an opposite eighth end; c. a third mounting formation integrally formed with the third resiliently stretchable band sixth end; d. a fourth mounting formation integrally formed with the fourth resiliently stretchable band eighth end; and e. a second pouch integrally formed with the third resiliently stretchable band fifth end and the fourth resiliently stretchable band seventh end; wherein, the third resiliently stretchable band, the fourth resiliently stretchable band, the second pouch and the third and the fourth mounting formations are all formed from the same material; the third mounting formation is configured to be releasably attached to the first arm; and the fourth mounting formation is configured to be releasably attached to the second arm; a. the first pouch defining a first cavity having a first shape; b. the second pouch defining a second cavity having a second shape; and c. the first shape and the second shape differ.
Google Patents
https://patents.google.com/patent/US12385712
USPTO PDF
https://image-ppubs.uspto.gov/dirsearch-public/print/downloadPdf/12385712