US12385713 - Arrow chain structure

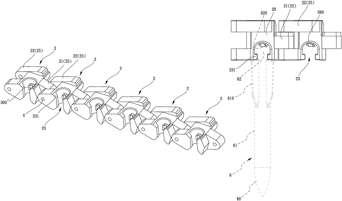
The patent describes an arrow chain structure that consists of interconnected arrow chain bodies and extension members, allowing for a pivoting connection between them. Each chain body features a base with an arrow groove and a pivoting member, facilitating the assembly of a flexible, chain-type configuration.
Claim 1
- An arrow chain structure, comprising: arrow chain bodies, wherein each of the arrow chain bodies comprises a base part, the base part has an arrow groove and a pivoting member disposed on a circumferential side thereof, and the pivoting member has an accommodation groove formed on a side thereof and located opposite to the arrow groove; extension members, wherein each of the extension members comprises an accommodation end and a pivoting end, the accommodation end is accommodated in the accommodation groove, and the pivoting end is pivotally connected to the pivoting member; wherein after each of the extension members is assembled with one of the arrow chain bodies, the arrow chain bodies are pivotally connected to each other to form a chain-type arrow chain structure via the pivoting members. arrow chain bodies, wherein each of the arrow chain bodies comprises a base part, the base part has an arrow groove and a pivoting member disposed on a circumferential side thereof, and the pivoting member has an accommodation groove formed on a side thereof and located opposite to the arrow groove; extension members, wherein each of the extension members comprises an accommodation end and a pivoting end, the accommodation end is accommodated in the accommodation groove, and the pivoting end is pivotally connected to the pivoting member; wherein after each of the extension members is assembled with one of the arrow chain bodies, the arrow chain bodies are pivotally connected to each other to form a chain-type arrow chain structure via the pivoting members.
Google Patents
https://patents.google.com/patent/US12385713
USPTO PDF
https://image-ppubs.uspto.gov/dirsearch-public/print/downloadPdf/12385713