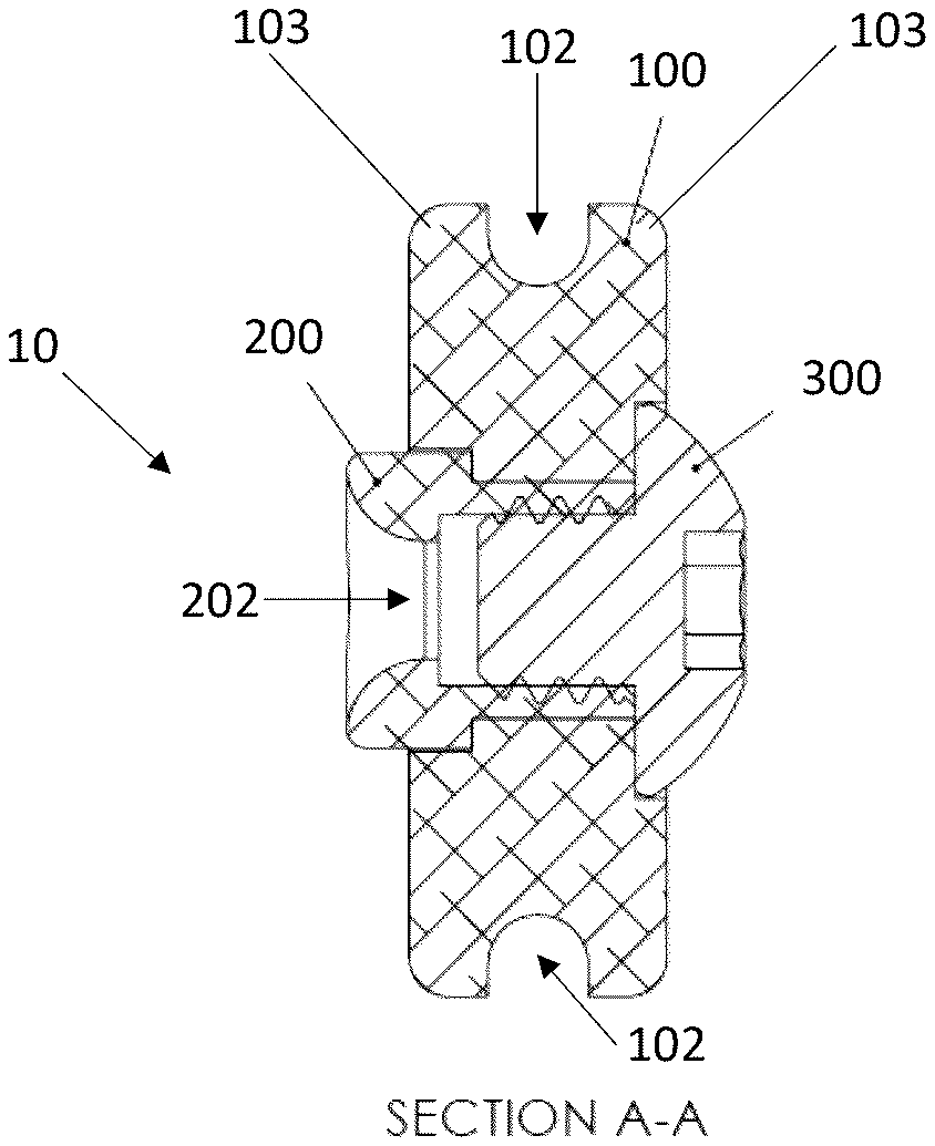
US12385714 - Archery bow quick disconnect buss cable wedge assembly

The patent describes a quick disconnect assembly for archery bow rests that includes a buss cable wedge, a cable wedge insert, and a button head screw to secure an arrow rest cable to the bow cable. This system allows for easy removal and attachment of the arrow rest cable, enhancing convenience for archers.
Claim 1
- A system for use with an arrow rest comprising: a buss cable wedge configured to engage an archery bow cable, wherein the buss cable wedge comprises a groove positioned around an outer perimeter of the buss cable wedge, and wherein the groove comprises a concave interior surface; a cable wedge insert configured to engage the buss cable wedge, wherein the cable wedge insert comprises a stem; and a button head screw configured to engage the cable wedge insert, wherein the cable wedge insert and the button head screw are configured to removably secure an arrow rest cable to the archery bow cable. a buss cable wedge configured to engage an archery bow cable, wherein the buss cable wedge comprises a groove positioned around an outer perimeter of the buss cable wedge, and wherein the groove comprises a concave interior surface; a cable wedge insert configured to engage the buss cable wedge, wherein the cable wedge insert comprises a stem; and a button head screw configured to engage the cable wedge insert, wherein the cable wedge insert and the button head screw are configured to removably secure an arrow rest cable to the archery bow cable.
Google Patents
https://patents.google.com/patent/US12385714
USPTO PDF
https://image-ppubs.uspto.gov/dirsearch-public/print/downloadPdf/12385714