US12389999 - Wearable and replaceable pouch or skin for holding a portable battery pack

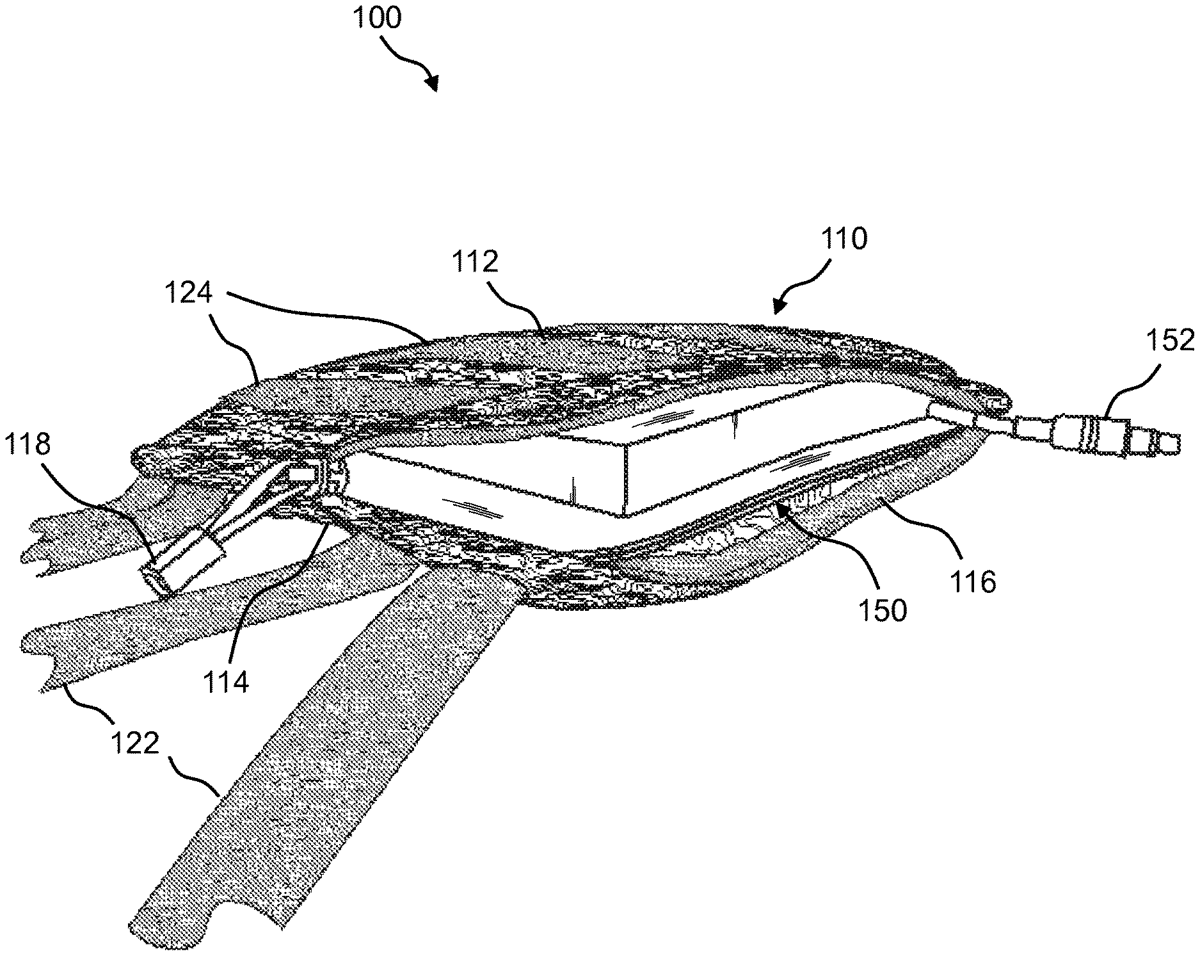
This patent describes a wearable pouch designed to securely hold a portable battery pack and related equipment, featuring multiple openings for leads. The design includes a spring mechanism around the leads both inside and outside the pouch to enhance functionality.
Claim 1
- A wearable pouch comprising: at least one portable battery pack; and a main body, at least one opening, and at least one opening for at least one lead from the at least one portable battery pack secured within the wearable pouch; wherein the at least one lead extends out of the wearable pouch; and wherein the at least one lead includes a spring, wherein the spring is positioned around a portion of the at least one lead outside of the wearable pouch, wherein the spring is further positioned around a portion of the at least one lead inside of the wearable pouch. at least one portable battery pack; and a main body, at least one opening, and at least one opening for at least one lead from the at least one portable battery pack secured within the wearable pouch; wherein the at least one lead extends out of the wearable pouch; and wherein the at least one lead includes a spring, wherein the spring is positioned around a portion of the at least one lead outside of the wearable pouch, wherein the spring is further positioned around a portion of the at least one lead inside of the wearable pouch.
Google Patents
https://patents.google.com/patent/US12389999
USPTO PDF
https://image-ppubs.uspto.gov/dirsearch-public/print/downloadPdf/12389999