US12390025 - Jewelry organizer

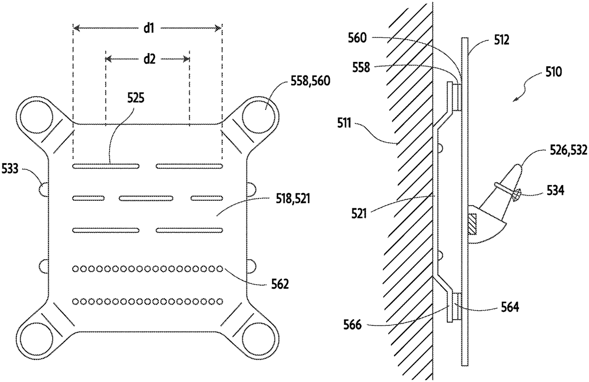
This patent describes a jewelry display system featuring a ferromagnetic planar substrate that can be securely mounted to a wall bracket using magnetic and frictional forces. The display allows for multiple jewelry fixtures, each equipped with permanent magnets, to be easily attached and removed from the substrate.
Claim 1
- A jewelry display, comprising: a ferromagnetic planar substrate having a front surface opposite a back surface; a bracket configured to be attached to a wall, the bracket defining an inner surface opposite an outer surface, the inner surface configured to face the wall and the outer surface configured to face the ferromagnetic planar substrate, wherein the bracket comprises at least one wall engagement surface disposed along the inner surface and at least one ferromagnetic planar substrate engagement surface disposed along the outer surface; a non-slip covering attached to the at least one ferromagnetic planar substrate engagement surface, wherein the back surface of the ferromagnetic planar substrate is configured to abut against the non-slip covering; at least one bracket magnet attached to the bracket; wherein the back surface of the ferromagnetic planar substrate is configured to removably attach to the bracket due to the magnetic force of the at least one bracket magnet attracting the ferromagnetic planar substrate and a frictional force between the non-slip covering and the back surface of the ferromagnetic planar substrate; and a plurality of jewelry fixtures configured to removably attach to the front surface of the ferromagnetic planar substrate, each jewelry fixture comprising at least one permanent fixture magnet and a jewelry holding structure, wherein the at least one permanent fixture magnet of each jewelry fixture is magnetically attracted to the ferromagnetic planar substrate. a ferromagnetic planar substrate having a front surface opposite a back surface; a bracket configured to be attached to a wall, the bracket defining an inner surface opposite an outer surface, the inner surface configured to face the wall and the outer surface configured to face the ferromagnetic planar substrate, wherein the bracket comprises at least one wall engagement surface disposed along the inner surface and at least one ferromagnetic planar substrate engagement surface disposed along the outer surface; a non-slip covering attached to the at least one ferromagnetic planar substrate engagement surface, wherein the back surface of the ferromagnetic planar substrate is configured to abut against the non-slip covering; at least one bracket magnet attached to the bracket; wherein the back surface of the ferromagnetic planar substrate is configured to removably attach to the bracket due to the magnetic force of the at least one bracket magnet attracting the ferromagnetic planar substrate and a frictional force between the non-slip covering and the back surface of the ferromagnetic planar substrate; and a plurality of jewelry fixtures configured to removably attach to the front surface of the ferromagnetic planar substrate, each jewelry fixture comprising at least one permanent fixture magnet and a jewelry holding structure, wherein the at least one permanent fixture magnet of each jewelry fixture is magnetically attracted to the ferromagnetic planar substrate.
Google Patents
https://patents.google.com/patent/US12390025
USPTO PDF
https://image-ppubs.uspto.gov/dirsearch-public/print/downloadPdf/12390025