US12392571 - Firearm with ambidextrous bolt catch

firearmbolt catchambidextrous
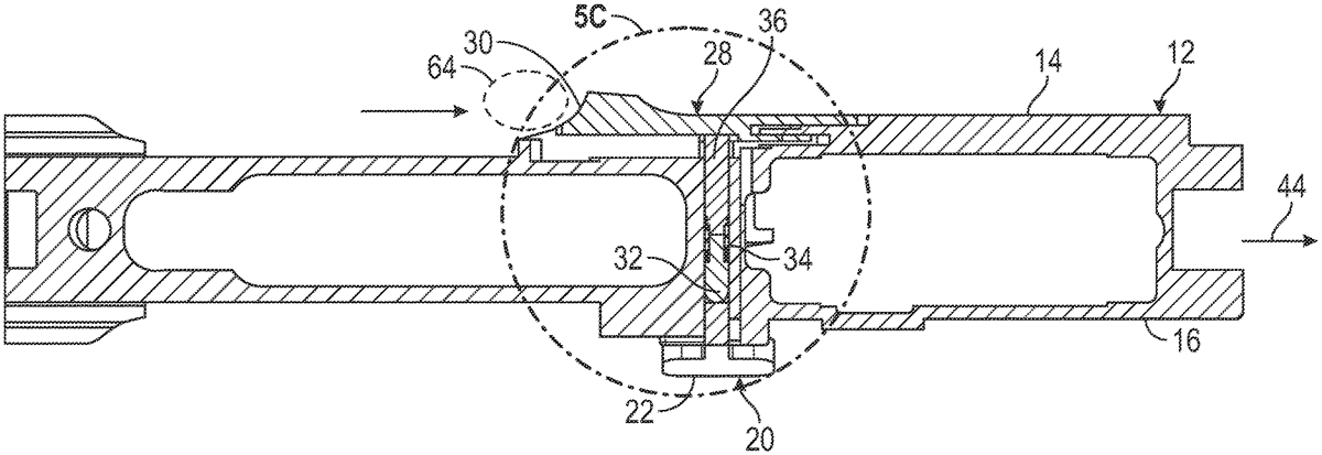
The patent describes a firearm featuring an ambidextrous bolt catch that allows users to operate it from both sides of the frame, enhancing accessibility. The design includes a secondary interface assembly with an actuator that facilitates movement of the bolt catch between retracted and restraint positions using different actuation efforts.
Claim 1
- A firearm comprising: a frame having opposed first and second sides and defining a bolt passage receiving a reciprocating bolt operable to move between a forward position and a rear position; a bolt catch connected to the frame and movable between a retracted position in which the reciprocating bolt freely moves from the rear position to the forward position, and a restraint position in which the reciprocating bolt is retained in the rear position; the bolt catch having exposed interface surfaces on the first side of the frame and configured to enable user contact to motivate the bolt catch to the retracted position and the restraint position; a secondary bolt catch interface assembly operable to motivate the bolt catch to the retracted position and to the restraint position; the secondary bolt catch interface assembly including an actuator having an actuation surface on the second side of the frame; and the actuator operable to move the bolt catch from the restraint position to the retracted position in response to a first actuation effort, and to move the bolt catch from the retracted position to the restraint position in response to a different second actuation effort. a frame having opposed first and second sides and defining a bolt passage receiving a reciprocating bolt operable to move between a forward position and a rear position; a bolt catch connected to the frame and movable between a retracted position in which the reciprocating bolt freely moves from the rear position to the forward position, and a restraint position in which the reciprocating bolt is retained in the rear position; the bolt catch having exposed interface surfaces on the first side of the frame and configured to enable user contact to motivate the bolt catch to the retracted position and the restraint position; a secondary bolt catch interface assembly operable to motivate the bolt catch to the retracted position and to the restraint position; the secondary bolt catch interface assembly including an actuator having an actuation surface on the second side of the frame; and the actuator operable to move the bolt catch from the restraint position to the retracted position in response to a first actuation effort, and to move the bolt catch from the retracted position to the restraint position in response to a different second actuation effort.
Google Patents
https://patents.google.com/patent/US12392571
USPTO PDF
https://image-ppubs.uspto.gov/dirsearch-public/print/downloadPdf/12392571