US12392572 - Firearm spade grip assembly

firearmtriggergripmechanismfrt
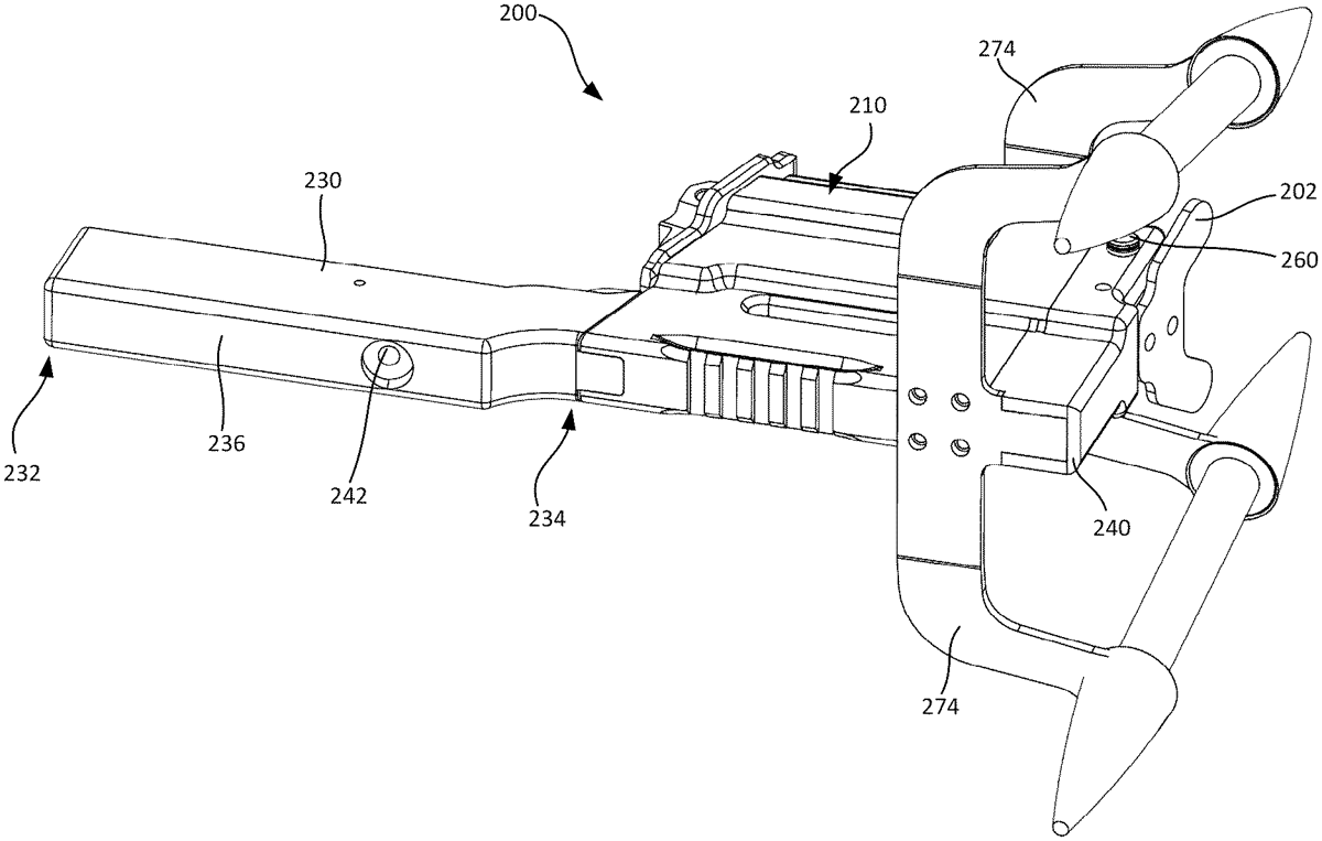
The patent describes a firearm spade grip assembly that includes a paddle trigger assembly designed to translate a trigger actuator when the paddle trigger is moved. This assembly features a base, an actuator housing, and a mechanism for engaging and pulling the firearm’s trigger in response to the paddle trigger’s movement.
Claim 1
- A firearm spade grip assembly, comprising: a paddle trigger assembly, comprising: a base spanning between and comprising a base forward end and a base aft end; a paddle trigger coupled to the base; a trigger actuator coupled to the base, wherein a portion of the trigger actuator extends from the base forward end, wherein the trigger actuator comprises an actuator aft end coupled to the paddle trigger and a traverse block forward of the actuator aft end configured to engage and pull a firearm trigger of a firearm in an aft direction in response to translation of the trigger actuator, wherein movement of the paddle trigger is configured to translate the trigger actuator; and an actuator housing coupled to and extending forward from the base, wherein the trigger actuator is disposed at least partially within the actuator housing. a paddle trigger assembly, comprising: a base spanning between and comprising a base forward end and a base aft end; a paddle trigger coupled to the base; a trigger actuator coupled to the base, wherein a portion of the trigger actuator extends from the base forward end, wherein the trigger actuator comprises an actuator aft end coupled to the paddle trigger and a traverse block forward of the actuator aft end configured to engage and pull a firearm trigger of a firearm in an aft direction in response to translation of the trigger actuator, wherein movement of the paddle trigger is configured to translate the trigger actuator; and an actuator housing coupled to and extending forward from the base, wherein the trigger actuator is disposed at least partially within the actuator housing. a base spanning between and comprising a base forward end and a base aft end; a paddle trigger coupled to the base; a trigger actuator coupled to the base, wherein a portion of the trigger actuator extends from the base forward end, wherein the trigger actuator comprises an actuator aft end coupled to the paddle trigger and a traverse block forward of the actuator aft end configured to engage and pull a firearm trigger of a firearm in an aft direction in response to translation of the trigger actuator, wherein movement of the paddle trigger is configured to translate the trigger actuator; and an actuator housing coupled to and extending forward from the base, wherein the trigger actuator is disposed at least partially within the actuator housing.
Google Patents
https://patents.google.com/patent/US12392572
USPTO PDF
https://image-ppubs.uspto.gov/dirsearch-public/print/downloadPdf/12392572