US12392574 - Recoil management system for a gun

recoilfirearmsystem
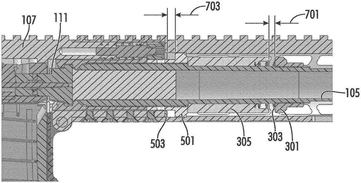
The patent describes a recoil management system for firearms that utilizes an inertial weight mechanism to extend and manage the recoil impulse, thereby reducing the felt recoil force experienced by the shooter. This system involves a configuration of stops and an inertial weight that absorbs and transfers energy during the gun’s discharge cycle, enhancing stability while adding weight to the firearm.
Claim 1
- A recoil management system for a gun, said system comprising: an inertial weight stop configured to attach to a barrel of the gun, said barrel extending longitudinally along a longitudinal axis, and said inertial weight stop configured to extend radially outward from the barrel; a barrel stop configured to attach to the barrel and extend radially outward from the barrel, the barrel stop configured to halt rearward longitudinal movement of the barrel; and an inertial weight configured to surround a portion of the barrel between the inertial weight stop and the barrel stop, the inertial weight configured to move relative to the barrel so as to contact the barrel stop and transfer absorbed energy from the inertial weight to the barrel stop. an inertial weight stop configured to attach to a barrel of the gun, said barrel extending longitudinally along a longitudinal axis, and said inertial weight stop configured to extend radially outward from the barrel; a barrel stop configured to attach to the barrel and extend radially outward from the barrel, the barrel stop configured to halt rearward longitudinal movement of the barrel; and an inertial weight configured to surround a portion of the barrel between the inertial weight stop and the barrel stop, the inertial weight configured to move relative to the barrel so as to contact the barrel stop and transfer absorbed energy from the inertial weight to the barrel stop.
Google Patents
https://patents.google.com/patent/US12392574
USPTO PDF
https://image-ppubs.uspto.gov/dirsearch-public/print/downloadPdf/12392574