US12392575 - Crossbow with spiral wound cam system

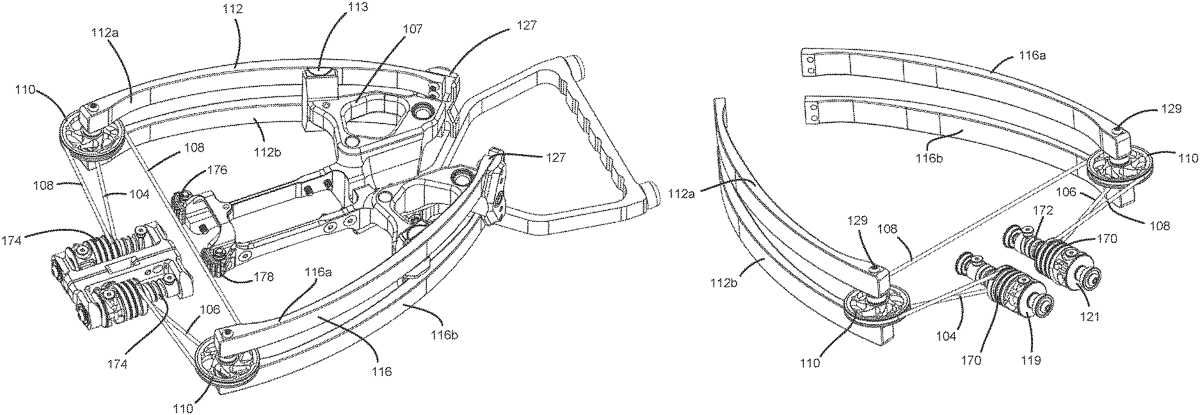
The patent describes a crossbow featuring a frame with two flexible limbs and a cam system designed to enhance the draw and release mechanism. The first and second cams rotate about axes parallel to the projectile axis, with a drawstring and power cables integrated into the design for improved functionality.
Claim 1
- A crossbow, comprising: a frame including a first frame side and a second frame side, the frame defining a projectile axis; a first flexible limb coupled to the first frame side and a second flexible limb coupled to the second frame side; a first cam coupled to the first frame side and configured to rotate about a first cam axis that is substantially parallel to the projectile axis; a second cam coupled to the second frame side and configured to rotate about a second cam axis that is substantially parallel to the projectile axis, a drawstring engaged with the first cam and the second cam; and a first power cable engaged with the first cam and the first flexible limb; and a second power cable engaged with the second cam and the second flexible limb. a frame including a first frame side and a second frame side, the frame defining a projectile axis; a first flexible limb coupled to the first frame side and a second flexible limb coupled to the second frame side; a first cam coupled to the first frame side and configured to rotate about a first cam axis that is substantially parallel to the projectile axis; a second cam coupled to the second frame side and configured to rotate about a second cam axis that is substantially parallel to the projectile axis, a drawstring engaged with the first cam and the second cam; and a first power cable engaged with the first cam and the first flexible limb; and a second power cable engaged with the second cam and the second flexible limb.
Google Patents
https://patents.google.com/patent/US12392575
USPTO PDF
https://image-ppubs.uspto.gov/dirsearch-public/print/downloadPdf/12392575