US12392588 - Expanding fin rocket with fin restraint

The patent describes an expanding fin aerial rocket that features a removable sleeve to restrain the fins in a collapsed position during storage, allowing for compactness and protection. Upon deployment, the sleeve is removed, enabling the fins to expand outwardly while also grounding any electrical charge to prevent accidental ignition of the rocket’s motor.
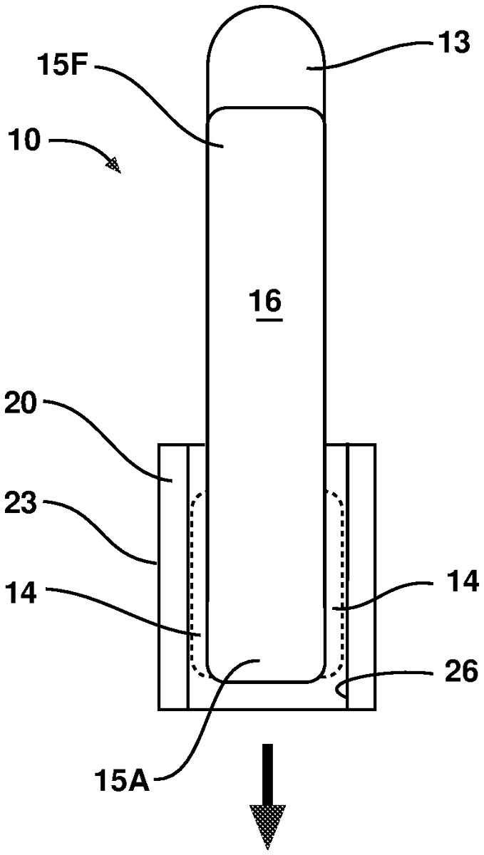
Claim 1
- An elongate, powerable, expanding fin aerial rocket comprising: a body having a fore end for containing a warhead and an aft end opposed thereto, the aft end having at least one autonomously radially expandable fin joined thereto, the at least one fin being biased to expand outwardly from a collapsed position juxtaposed with the body to an extended position outward of the body; and a sleeve removably installed over the at least one fin in the collapsed position, the sleeve restraining the at least one fin in the collapsed position and being removable to allow the at least one fin to expand outwardly from the body, the sleeve having an inner surface oriented towards the body and outer surface opposed thereto, the inner surface of the sleeve being conductive whereby a charge occurring proximate the at least one fin is grounded to prevent ignition of a motor at the aft end of the rocket. a body having a fore end for containing a warhead and an aft end opposed thereto, the aft end having at least one autonomously radially expandable fin joined thereto, the at least one fin being biased to expand outwardly from a collapsed position juxtaposed with the body to an extended position outward of the body; and a sleeve removably installed over the at least one fin in the collapsed position, the sleeve restraining the at least one fin in the collapsed position and being removable to allow the at least one fin to expand outwardly from the body, the sleeve having an inner surface oriented towards the body and outer surface opposed thereto, the inner surface of the sleeve being conductive whereby a charge occurring proximate the at least one fin is grounded to prevent ignition of a motor at the aft end of the rocket.
Google Patents
https://patents.google.com/patent/US12392588
USPTO PDF
https://image-ppubs.uspto.gov/dirsearch-public/print/downloadPdf/12392588