US12392589 - Cartridge case crimping tool

The patent describes a crimping tool designed for assembling countermeasure expendables, featuring a main body with a central passageway and outer passageways for crimping components together. It includes a presser to secure the cap and spacer into the cartridge case, and a set of crimpers that maintain the integrity of the assembly.
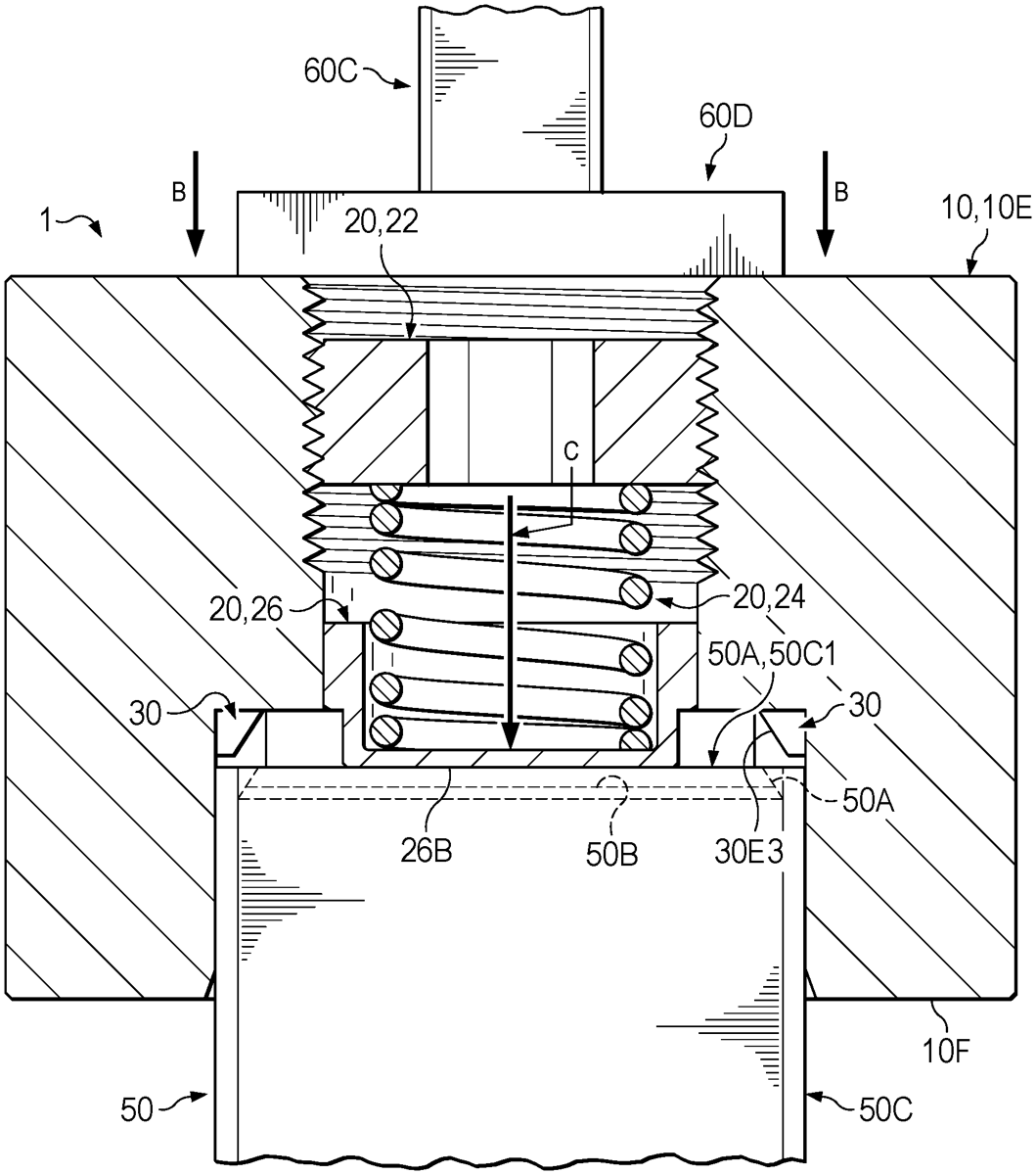
Claim 1
- A crimping tool for a countermeasure expendable, the crimping tool comprising: a main body having a top end, a bottom end vertically opposite to the top end, and an axis defined between the top end and the bottom end, wherein the main body is configured to receive a cap of the countermeasure expendable, a spacer of the countermeasure expendable, and a portion of a cartridge case of the countermeasure expendable between the top end and the bottom end; a presser selectively operably engaged with the main body and configured to press the cap and the spacer of the countermeasure expendable into the cartridge case of the countermeasure expendable; and a set of crimpers operably engaged with the main body and configured to crimp at least the cap, the spacer, and the cartridge case with one another to collectively maintain the cap and the spacer with the cartridge case; wherein the main body comprises: a central passageway defined between the top end of the main body and the bottom end of the main body; and a set of outer passageways defined between the top end of the main body and the bottom end of the main body; wherein the presser is selectively operably engaged with the main body at the central passageway and the cap of the countermeasure expendable, the spacer of the countermeasure expendable, and the portion of the cartridge case of the countermeasure expendable is housed in the central passageway; wherein each crimper of the set of crimpers is operably engaged with the main body inside a respective outer passageway of the set of outer passageways; wherein each crimper of the set of crimpers comprises: a first end, a second end opposite to the first end, and a longitudinal axis defined therebetween; a blanked portion extending from the first end towards the second end; a crimping portion extending from the blanked portion towards the second end and in open communication with the central passageway; and a threaded portion extending from the crimping portion to the second end. a main body having a top end, a bottom end vertically opposite to the top end, and an axis defined between the top end and the bottom end, wherein the main body is configured to receive a cap of the countermeasure expendable, a spacer of the countermeasure expendable, and a portion of a cartridge case of the countermeasure expendable between the top end and the bottom end; a presser selectively operably engaged with the main body and configured to press the cap and the spacer of the countermeasure expendable into the cartridge case of the countermeasure expendable; and a set of crimpers operably engaged with the main body and configured to crimp at least the cap, the spacer, and the cartridge case with one another to collectively maintain the cap and the spacer with the cartridge case; wherein the main body comprises: a central passageway defined between the top end of the main body and the bottom end of the main body; and a set of outer passageways defined between the top end of the main body and the bottom end of the main body; wherein the presser is selectively operably engaged with the main body at the central passageway and the cap of the countermeasure expendable, the spacer of the countermeasure expendable, and the portion of the cartridge case of the countermeasure expendable is housed in the central passageway; wherein each crimper of the set of crimpers is operably engaged with the main body inside a respective outer passageway of the set of outer passageways; a central passageway defined between the top end of the main body and the bottom end of the main body; and a set of outer passageways defined between the top end of the main body and the bottom end of the main body; wherein the presser is selectively operably engaged with the main body at the central passageway and the cap of the countermeasure expendable, the spacer of the countermeasure expendable, and the portion of the cartridge case of the countermeasure expendable is housed in the central passageway; wherein each crimper of the set of crimpers is operably engaged with the main body inside a respective outer passageway of the set of outer passageways; wherein each crimper of the set of crimpers comprises: a first end, a second end opposite to the first end, and a longitudinal axis defined therebetween; a blanked portion extending from the first end towards the second end; a crimping portion extending from the blanked portion towards the second end and in open communication with the central passageway; and a threaded portion extending from the crimping portion to the second end. a first end, a second end opposite to the first end, and a longitudinal axis defined therebetween; a blanked portion extending from the first end towards the second end; a crimping portion extending from the blanked portion towards the second end and in open communication with the central passageway; and a threaded portion extending from the crimping portion to the second end.
Google Patents
https://patents.google.com/patent/US12392589
USPTO PDF
https://image-ppubs.uspto.gov/dirsearch-public/print/downloadPdf/12392589